双螺母防松原理

双螺母防松结构的受力分析及正确使用
图片尺寸568x410
图6 双向防松螺母
图片尺寸560x466
双螺母防松很多人竟然都用错了
图片尺寸545x348
双丝异步防松动螺母的制作方法
图片尺寸565x1000
永不松动螺母畅销世界,日本企业太嚣张,称给咱们图纸也造不出?
图片尺寸508x702
双螺母拧紧结构防松装置
图片尺寸618x377
螺母防松的方法有哪些
图片尺寸503x476
双螺母防松,你用对了吗?
图片尺寸1024x576
从原理上看:紧固件的松动原理是由于螺栓和螺母之间游动的缝隙所导致
图片尺寸900x1080
防松双螺母
图片尺寸1679x1068
双螺母预紧的两种形式疑惑
图片尺寸303x315
【专业知识】螺纹连接防松技术研究综述_螺母_摩擦_矩形
图片尺寸583x693
双螺母紧固件结构
图片尺寸760x400
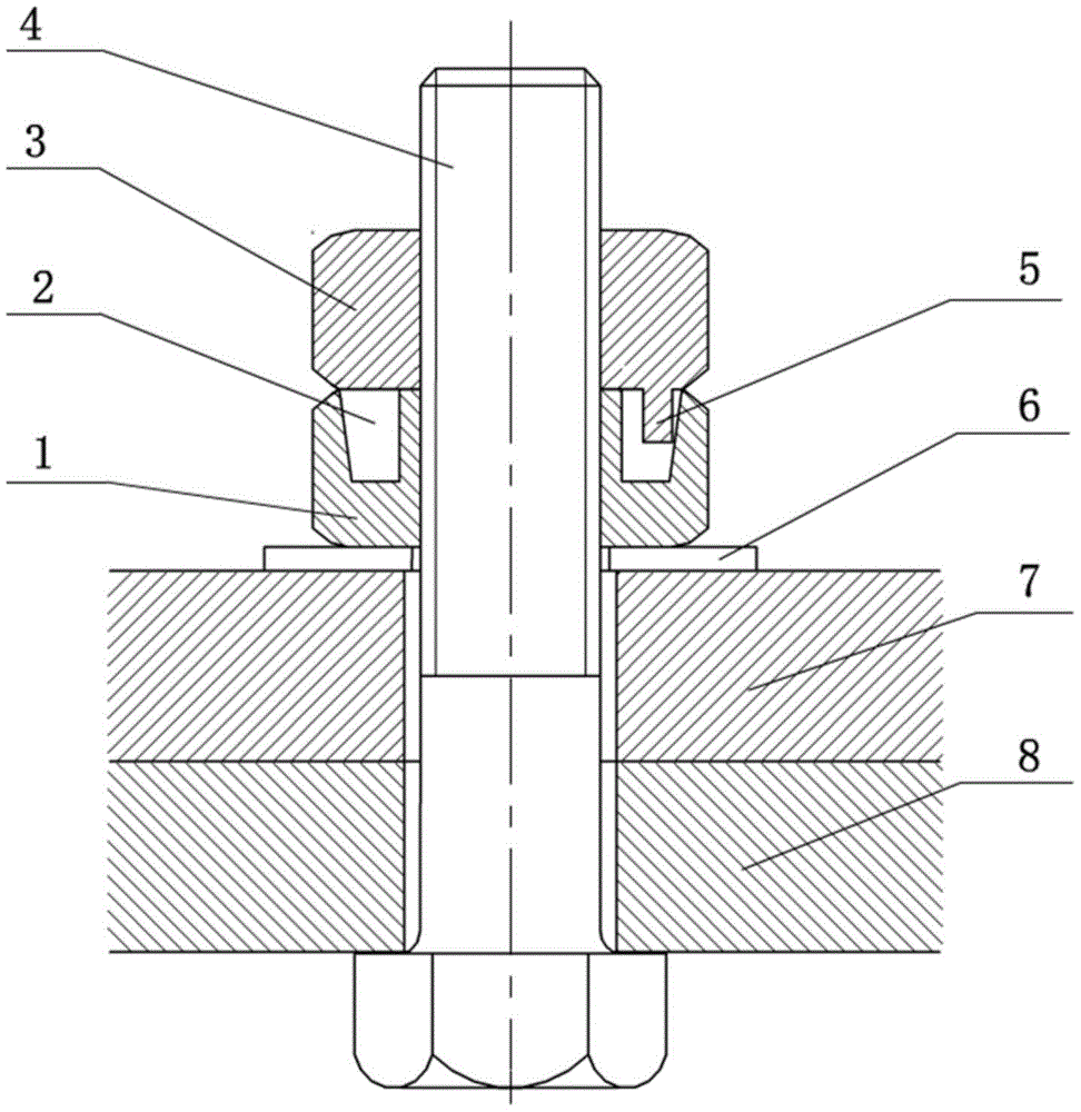
一种防松双螺母结构的制作方法
图片尺寸665x471
一种适用于轴类部件的双螺母防松装置的制作方法
图片尺寸1000x716
cn110529486a_一种防松双螺母结构及其使用方法在审
图片尺寸665x471
一种双螺母防松螺栓的连接方法
图片尺寸2159x1537
图为螺母原理图
图片尺寸554x435
摩擦防松:双螺母,弹簧垫圈,自锁螺母二,螺纹连接的防松a1为小镜的
图片尺寸325x363
cn209067641u_一种带弹性凸起螺母与环槽螺母组成的双螺母防松螺栓组
图片尺寸972x1000