双金属片温控器结构图

双金属片温控器工作原理
图片尺寸920x1301
双金属片温控器种类及其特性
图片尺寸644x361
电烤箱,电开水器用压力式温控器
图片尺寸617x442
详解双金属片温控器种类以及特点
图片尺寸630x373
一种带有加热保护装置的双金属片式温控器的制作方法
图片尺寸1000x827
电烤箱,电开水器用压力式温控器
图片尺寸643x401
自复位ksd301温度开关 低温温度开关 高温双金属片突跳式温度开关
图片尺寸1050x1200
详解双金属片温控器种类以及特点
图片尺寸585x288
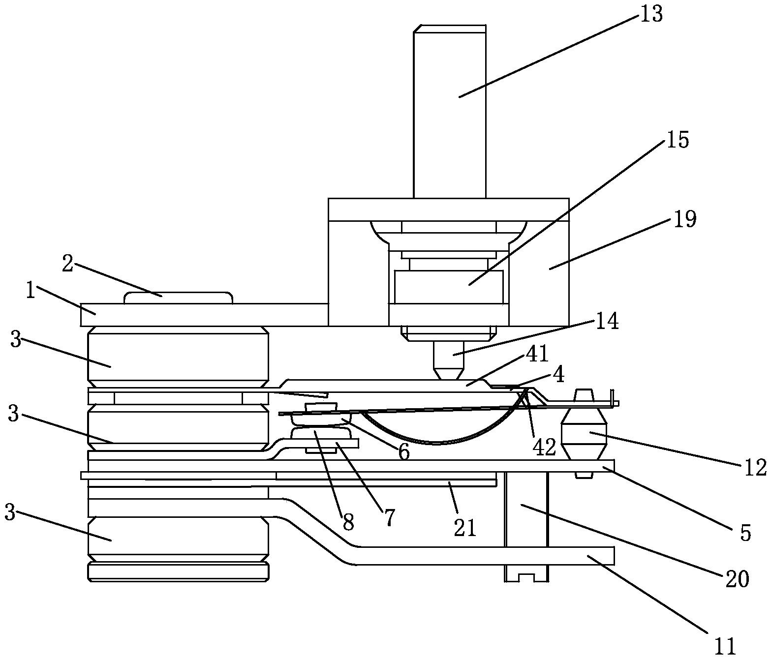
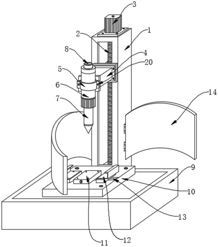
一种可调温控器双金属片自动焊接装置-爱企查
图片尺寸708x800
一种双金属片温控器结构的制作方法
图片尺寸1000x559
双金属片式恒温器
图片尺寸464x289
一种防冻式双金属片温控器的制作方法
图片尺寸443x378
温控开关双金属温度传感器及其应用
图片尺寸500x300
kst可调温控器 烤箱专用温度开关 上一个 下一个> 双金属片温控器
图片尺寸751x800
ksd301突跳式温控器 原理特点 ksd301温控开关是一种将定温后的双金属
图片尺寸277x202
自复位ksd301温度开关 低温温度开关 高温双金属片突跳式温度开关
图片尺寸1050x1200
一种含多个双金属片的高温保护温控器-爱企查
图片尺寸1567x1340
一种突跳式的双金属片温控器的制作方法
图片尺寸444x324
ksd301ksd302双金属片温控器产品特性雅迅电子
图片尺寸514x280
温控器工作原理:机械式的采用两层热膨胀系数不同金属压在一起,温度
图片尺寸431x320