反应釜剖面图

搪玻璃反应釜剖面图
图片尺寸800x1067
蒸汽加热反应釜罐
图片尺寸600x985
cn102247788a_电加热风反应釜失效
图片尺寸1006x1146
8000l耐酸碱腐蚀的高压加氢反应釜
图片尺寸606x861
搪玻璃反应釜剖面图
图片尺寸830x1187
搪玻璃开式反应釜
图片尺寸1200x1954
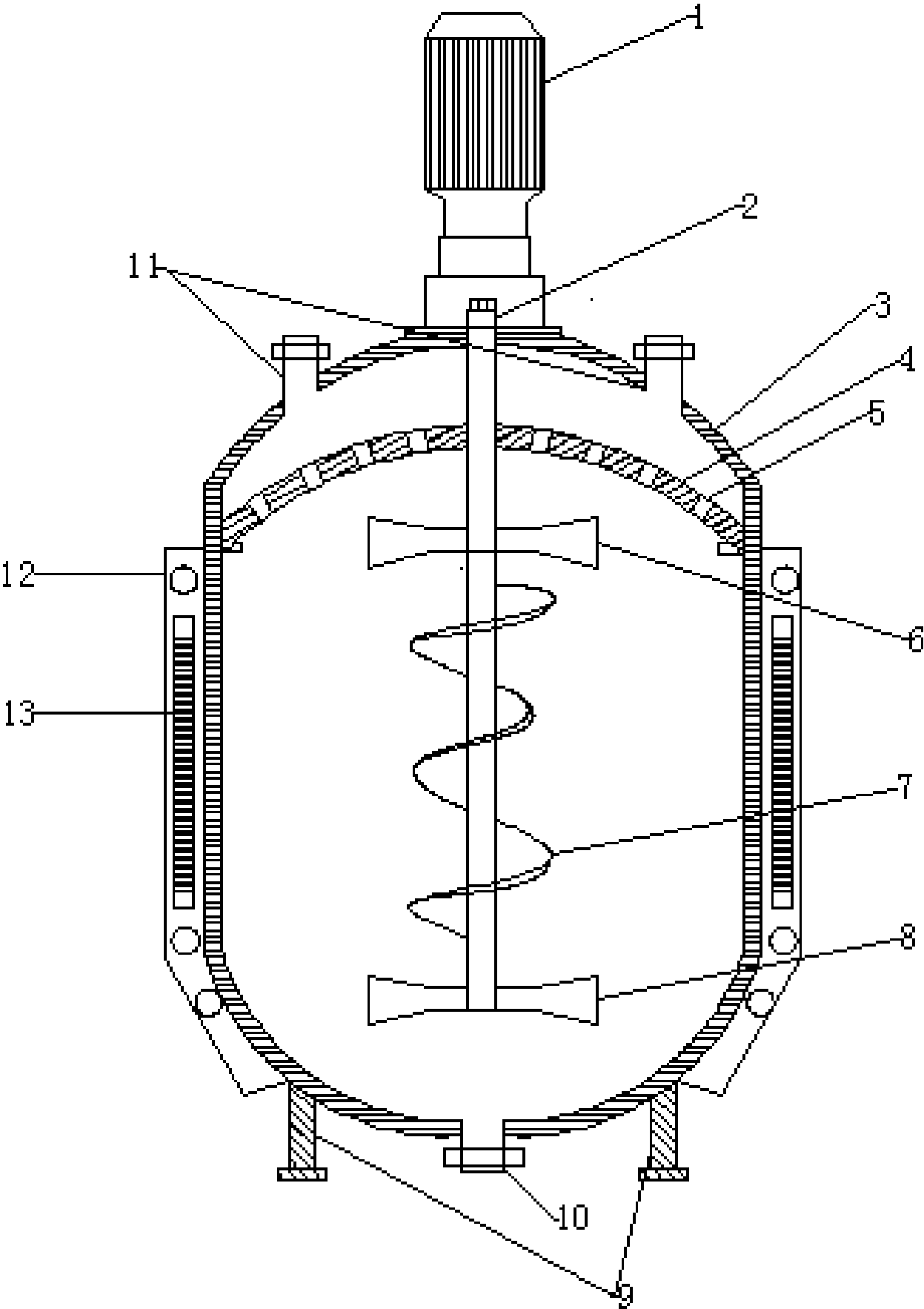
cn210303656u_一种用于抑菌凝胶生产的可拆卸反应釜
图片尺寸1281x1637
黑灯科技反应釜结构图.png
图片尺寸422x499
温州科信反应釜
图片尺寸441x600
cn106669574a_一种化工反应釜失效
图片尺寸1247x1766
搪瓷反应釜结构图--水模温机,油模温机,电加热导热油炉,电导热油炉
图片尺寸1159x905
化工设备与机械基础 反应釜装配图
图片尺寸489x548
搪玻璃反应釜使用
图片尺寸584x435
不锈钢反应釜
图片尺寸500x707
反应釜山东龙兴反应釜介绍反应釜操作规程反应釜结构图
图片尺寸2338x1700
北京夹套反应釜
图片尺寸600x811
一种生产三元前驱体的共沉淀反应釜
图片尺寸1621x2055
反应釜装配图详实参照
图片尺寸920x1302
供应浙江不锈钢反应釜厂商
图片尺寸443x602
反应釜结构简图
图片尺寸1099x675