发动机翻转架图纸

汽车发动机翻转台架设计【含4张cad图】.zip
图片尺寸800x600
发动机翻转架设计 - 动力系统图纸 - 沐风网
图片尺寸780x646
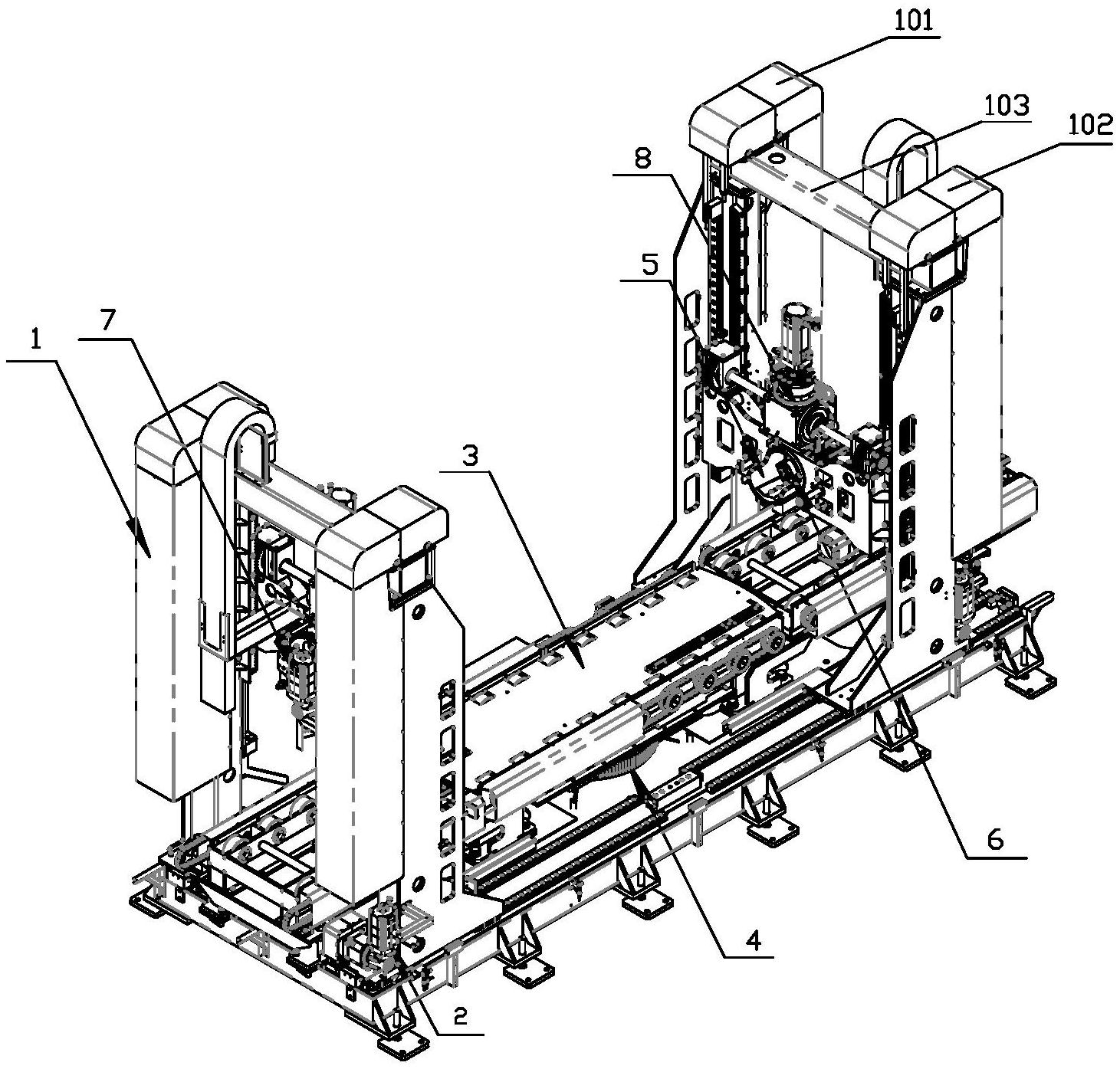
cn212953950u_一种发动机龙门式盘车翻转机
图片尺寸1461x1395
一种便捷式大型构件翻转架的制作方法
图片尺寸1000x872
转向架
图片尺寸2000x1313
转8a型转向架
图片尺寸760x853
一种工作台翻转架的制作方法
图片尺寸1000x714
一种装配式钢结构建筑用组合式h型钢翻转架的制作方法
图片尺寸887x1000
发动机缸体翻转支架 - 动力系统图纸 - 沐风网
图片尺寸770x658
一种翻转机构的制作方法
图片尺寸856x1000
一种翻转机构的制作方法
图片尺寸1000x792
crh380动车组动力转向架图纸
图片尺寸3058x2190
一种用于发动机生产线的旋转吊具
图片尺寸900x818
cn200974235y_发动机气缸体翻转装置失效
图片尺寸1552x1394
cad图纸 >hxd3b转向架总图
图片尺寸860x1216
一种用于钢构件翻身的翻转机
图片尺寸897x1000
一种用于公铁联运厢式货车的端部转向架的制作方法
图片尺寸1000x831
309-03-24转k2型转向架结构特点和目前运用.
图片尺寸970x642
东风7g型内燃机车检修手册6-第六部分转向架
图片尺寸893x1002
一种翻转机构
图片尺寸1712x1146