发射机原理框图

通信发射机以及通信接收机-爱企查
图片尺寸1720x838
3kw调频广播发射机
图片尺寸1062x670
雷达发射机 - 知乎
图片尺寸1080x489
10kw模拟电视发射机原理框图.png
图片尺寸916x601
新型调频广播发射机原理框图淡(1).jpg
图片尺寸1107x704
射频发射机的制作方法
图片尺寸1000x579
图1 发射系统框图
图片尺寸600x208
电视发射机组成原理方框图
图片尺寸601x195
移动通信发射机
图片尺寸491x437
调频原理如图, 调频发射机原理框图所示,首先我们使用震荡器产生圆è
图片尺寸1242x618
max2721直接变频发射机框图
图片尺寸646x413
移动通信发射机
图片尺寸436x417
cn1883151b_用于传递多个空间信号流的多载波发射机,多载波接收机和
图片尺寸2370x1473
光发射机
图片尺寸1548x795
光发射机各部分功能(结构图)
图片尺寸1276x792
cn1984264a_数字电视发射机/接收机及其在其中处理数据的方法有效
图片尺寸2888x1859
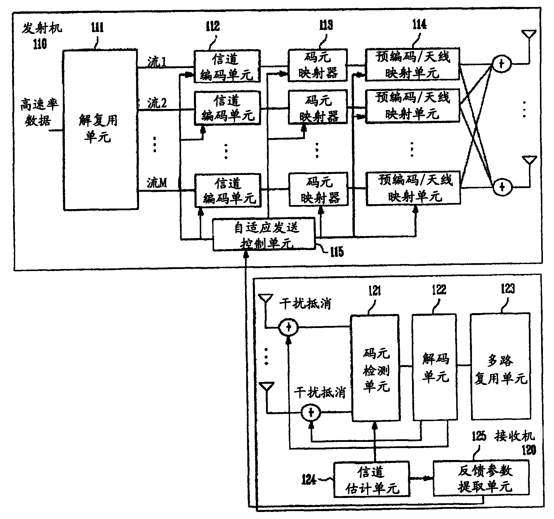
发射机接收机和用于控制多输入多输出系统的方法
图片尺寸1897x1777
bh1415调频发射机系统方框图
图片尺寸922x561
电视伴音多重广播的发射机框图
图片尺寸526x152
锁相调频发射机原理及设计
图片尺寸1048x939