发明专利查询

专利查询系统
图片尺寸1514x2047
国家发明专利号查询(国家发明专利产品查询)
图片尺寸2185x3071
中国发明专利查询步骤是怎样的?
图片尺寸1076x554
一年下证的发明专利#专利申请 #发明专利
图片尺寸1080x540
实用新型专利查询(实用新型专利查询流程)
图片尺寸1403x1020
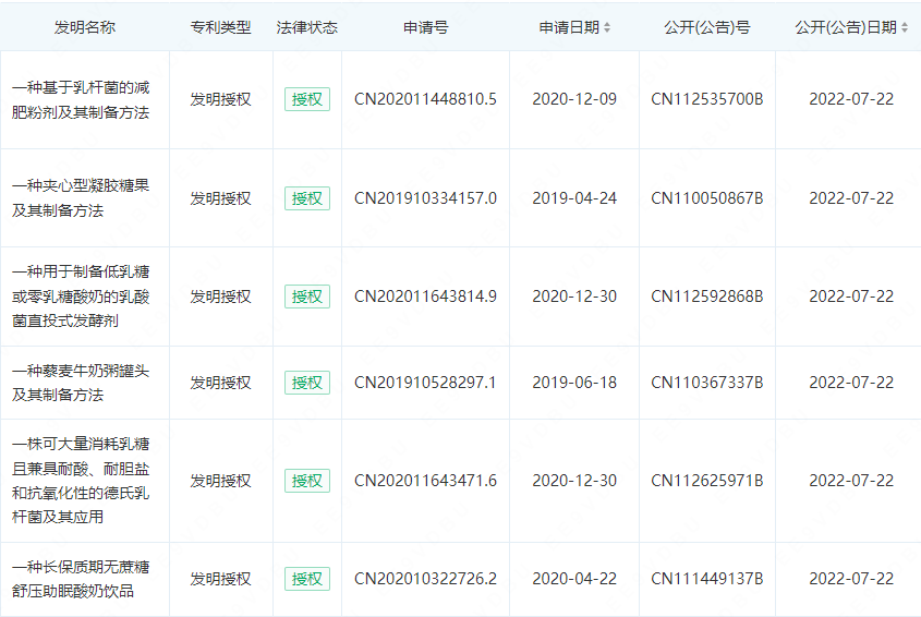
一项"一株具有改善抑郁功效的乳酸乳球菌及其应用"的发明专利获得授权
图片尺寸845x566
关于数学建模专利类数据库的查询方法
图片尺寸1135x787
乌发液专利证书
图片尺寸1654x2340
31,发明专利:一种平面喷涂机的喷涂方法
图片尺寸640x906
中国外国专利全文查询下载账号申请名称检索著录项目清单表格导出
图片尺寸800x800
05.22_专利查询_天眼查
图片尺寸1840x2624
专利查询
图片尺寸168x220
国际知识产权局个人专利详细信息查询步骤
图片尺寸500x246
发明专利申请,专利查询,专利检索,专利申请流程及费用,申通商标,代理
图片尺寸1000x745
商标专利发票备案商品条码如何查询卖家必知
图片尺寸1080x689
实用新型专利怎么查询,如何查询专利
图片尺寸424x310
亚马逊外观专利查询
图片尺寸813x581
脚臭鞋臭袜子臭易喷搞定 发明专利zl20111003741.3官网查询安替舒
图片尺寸750x750
一种管带式输送机及其纠偏装置专利_专利申请于2019-09-27_专利查询
图片尺寸1000x777
国际知识产权局个人专利详细信息查询步骤
图片尺寸500x164