发条安装图解

小蜗牛无碳环保发条小车 儿童拼装小制作发明车模科普培训器材
图片尺寸882x558
发条工作原理
图片尺寸448x254
手表上发条是什么意思?机械手表上发条技巧是什么?
图片尺寸755x515
发条玩具十只装
图片尺寸800x800
【买一送一】2只装发条玩具卡通呆萌猫头鹰青蛙小鸟会跑小动物
图片尺寸800x800
细谈发条怎么分类
图片尺寸657x526
手动上发条对手表有害?你不要吓我!
图片尺寸640x456
发条小鸡批发装
图片尺寸800x800
贝木惠(beimuhui)发条上弦动物摇摆鱼会跑的上链条宝宝抖音网红玩具
图片尺寸800x800
cn303388167s_可移动的机械发条玩具有效
图片尺寸896x783
晴野宝宝洗澡戏水酷游小乌龟发条上链动物浴室玩水儿童玩具 发条小
图片尺寸800x800
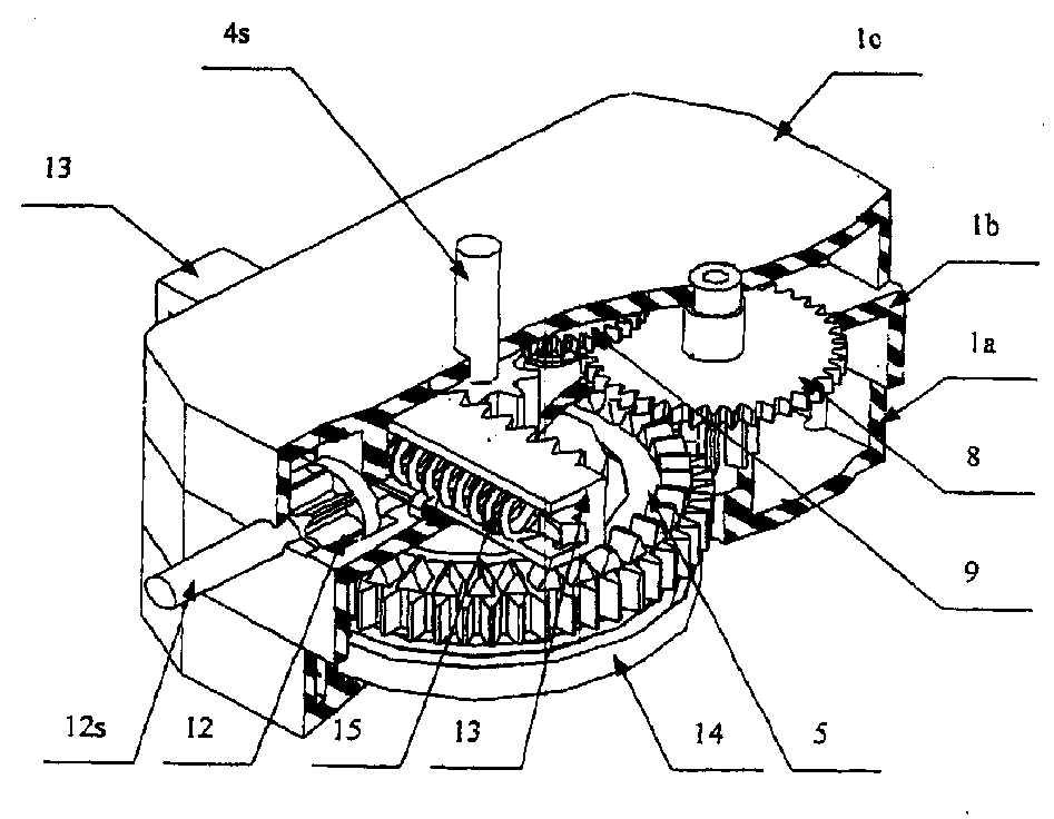
包括壳体:手掣;可作 为输出轴的主轴;储存和释放能量的发条;安装在
图片尺寸947x736
手表发条怎么拧
图片尺寸500x500
宁波平面涡卷发条怎么样来电咨询宁波韵升弹性元件供应
图片尺寸640x480
水管的自动卷管装置,其结构是由壳体,轮盘总成,芯轴和发条弹簧等构成
图片尺寸701x456
洗衣机定时器,维修配件#发条 #铜齿轮时间定时器 - 抖音
图片尺寸1080x1440
好沐音(haomuyin)上弦发条动物毛毛虫会跑的上链条宝宝小丑鱼网红玩具
图片尺寸800x800
10个装发条会走路小鸡网红小礼品怀旧礼物开学儿童节赠送幼儿园奖
图片尺寸800x800
【自学修表】手把手教你拆装发条(下)
图片尺寸1728x1080
好沐音(haomuyin)戏水乌龟发条玩具儿童宝宝洗澡戏水游泳小乌龟3只装
图片尺寸800x800