发条装置 原理

发条动力方向示意图
图片尺寸512x407
发条的原理是什么?
图片尺寸1728x1080
图 | 拉发条小车模型
图片尺寸800x621
发条机构是指称为时钟的机械的内部工作原理(在这里也称为机芯),或者
图片尺寸500x370
机械钟表的发条的原理是什么发条原理动图自动机械表与手动机械表的上
图片尺寸667x440
大航海时代时哈里森的航海钟是怎么确定格林尼治时间的?
图片尺寸1060x1106
发条青蛙--以故事线探寻历史方案
图片尺寸966x597
发条略去,图中没画
图片尺寸640x967
一种机械表的自动上发条装置
图片尺寸902x1000
惯性力发条发电装置及具有该装置的惯性力摆锤发电系统的制作方法
图片尺寸1000x682
一种机械闹钟发条用冲压装置的制作方法
图片尺寸724x1000
发条青蛙--以故事线探寻历史方案
图片尺寸536x470
cn109261550a_一种测电池电量的简易有趣的发条装置在审
图片尺寸1041x1654
手表的机械结构及原理
图片尺寸605x383
背景技术:发条是一种发动机器的装置,它是利用卷紧片状的弹性钢条的
图片尺寸1000x853
为什么我的机械表发条永远上不满?
图片尺寸477x294
用于控制发条盒的钟表机芯机构
图片尺寸1817x2104
cn106438232a_惯性力发条发电装置及具有该装置的惯性力摆锤发电系统
图片尺寸1000x473
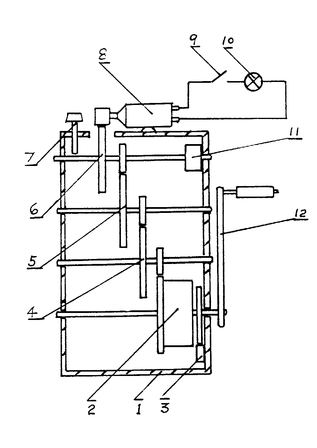
利用发条储能的家用电灯
图片尺寸1088x1536
发条式驱动装置以及自行式脚轮
图片尺寸1779x1810