发泡器原理

微纳米气泡发生器曝气技术解读--禹创环境科技_水质
图片尺寸819x327
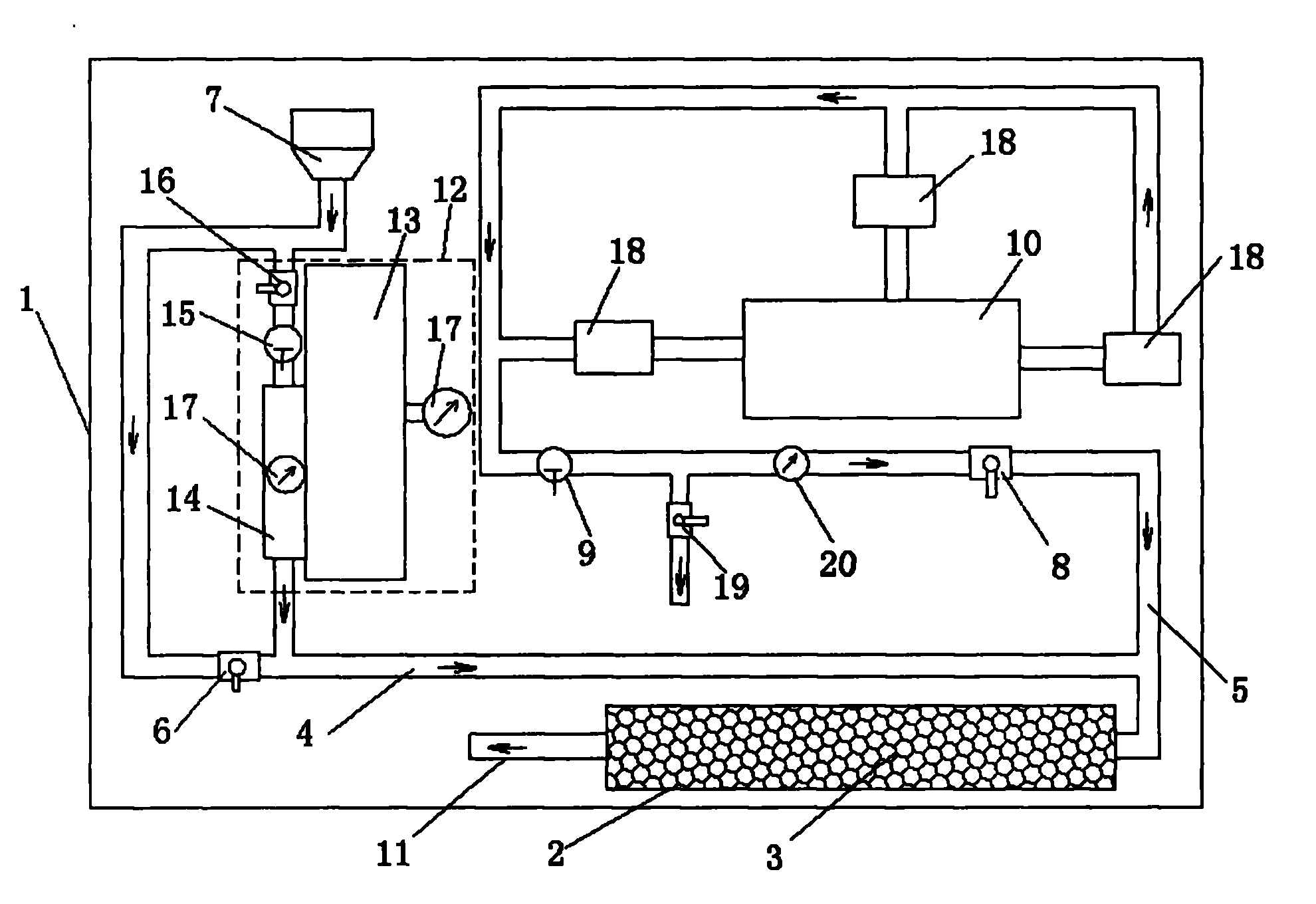
一种发泡装置及发泡方法
图片尺寸1980x1360
一种防堵塞的聚苯乙烯发泡装置的制作方法
图片尺寸360x418
一种浮选柱环形发泡器的制作方法与流程
图片尺寸396x443
气水混合起泡器
图片尺寸1975x2275
一种聚氨酯高压发泡机的制作方法
图片尺寸443x350
一种pc系列泡沫产生器
图片尺寸1773x1144
拆解起泡器,带你了解内部构造 - 知乎
图片尺寸720x624
cn201809819u_一种起泡器失效
图片尺寸2116x2465
温拌沥青发泡装置示意
图片尺寸466x521
背景技术:泡沫发生器主要应用于灭火消防领域,其工作原理就是通过发泡
图片尺寸1000x643
葡萄酒瓶为什么要用软木塞67起泡瓶是什么原理
图片尺寸1080x1080
一种浮选柱发泡器
图片尺寸2758x1514
yzl高压混合头聚氨酯发泡机喷咀国产进口优质高压发泡机枪头喷嘴
图片尺寸1640x1920
一种可拆卸起泡器的制作方法
图片尺寸935x1000
一种超效微气泡发生器-爱企查
图片尺寸799x753
智能马桶的旋转发泡装置
图片尺寸2433x1458
cn201567626u_一种产生气泡水的起泡器结构有效
图片尺寸800x857
外压式微纳气泡发生器图片
图片尺寸565x553
旋流式微纳米气泡发生器
图片尺寸1000x761