发泡机原理

间歇式发泡机工作原理
图片尺寸858x393
厂家供应hzqj-12h-2kv扁无丝聚氨酯发泡机混合头 不锈钢发泡枪头
图片尺寸1920x1303
cn201677384u_矿用防爆水泥发泡机失效
图片尺寸1619x1458
聚氨酯高压发泡机工作流程图
图片尺寸550x409
一种聚氨酯高压发泡机的制作方法
图片尺寸443x350
一种气泡水机
图片尺寸1678x2545
一种用于汽车座椅头枕护垫发泡机的制作方法
图片尺寸443x428
水泥发泡剂配方水泥发泡机装置系统原理图结构专利资料集
图片尺寸700x700
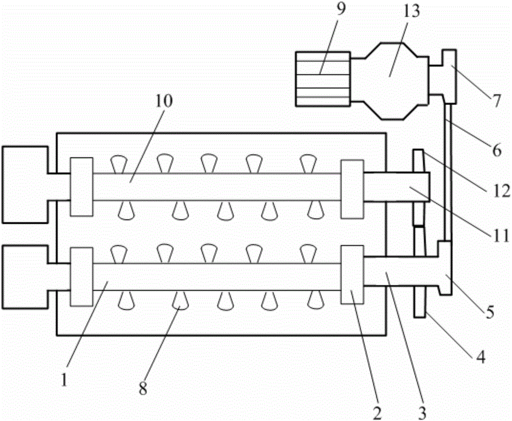
cn205905200u_一种卧式双轴搅拌水泥发泡机失效
图片尺寸1000x822
qd-jd 高压发泡机
图片尺寸1266x912
一种成泡装置和泡泡机
图片尺寸1689x1911
一种低压灌注混合发泡机的制作方法
图片尺寸1000x798
一种新型聚氨酯发泡机的制作方法
图片尺寸1000x649
智能化的大型水泥发泡机的制作方法
图片尺寸579x551
纳米气泡技术 泉州纳米气泡 自产自销
图片尺寸764x764
温拌沥青发泡装置示意中交西筑"温拌混合料技术"装备是公司多年来研究
图片尺寸466x521
微型水泥发泡机混合泵送系统
图片尺寸1000x634
一种泡泡机的制作方法
图片尺寸1000x844
供应pe管聚氨酯高压发泡机
图片尺寸1190x807
pcl型徐州艾迪立式泡沫产生器
图片尺寸432x553