叔丁基异丙基醚

叔丁基异丙基醚
图片尺寸484x300
叔丁基异丙基醚
图片尺寸363x225
叔丁基异丙基醚_化合物基本信息_供应商_百万化合物信息库
图片尺寸500x500
ch3ch ch 3 异丙基(i-pr) ch3chch2 ch3 异丁基 (i-bu) ch3ch2ch ch3
图片尺寸1080x810
甲酰胺;nbs,n-溴代丁内酰胺;lda,二异丙基胺基锂((ch3)2ch)2n-lidmso
图片尺寸312x519
茂军化工异丙醚厂家
图片尺寸800x800
异丙醚_山东伟明化工有限公司
图片尺寸400x400
双酚a型二醚二酐
图片尺寸326x343
17348-59-3 2-isopropoxy-2-methylpropane
图片尺寸400x400
【济南厂家现货出售工业级异丙醇 质优价低异丙醇
图片尺寸731x488
异丙基乙烯基醚结构式
图片尺寸250x250
有机化学
图片尺寸508x124
该烯化氧残基由氧化苯こ烯,甲基缩水甘油醚,异丁基缩水甘油醚,异丙基
图片尺寸1363x593
tgic-sstgic-httgic(络合呔哔克)β-羟烷基酰胺(hd-552)间三氟甲氧基
图片尺寸800x800
淮南师范学院2010- 2011学年度第一学期试卷 b 参考答案有机化学
图片尺寸338x347
有机化学基团简写修订
图片尺寸920x1302
( 26 ) 甲基叔丁基醚 ( 25 ) 防白水 ( 18 ) 二甲醚 ( 13 ) 异丙醚
图片尺寸266x370
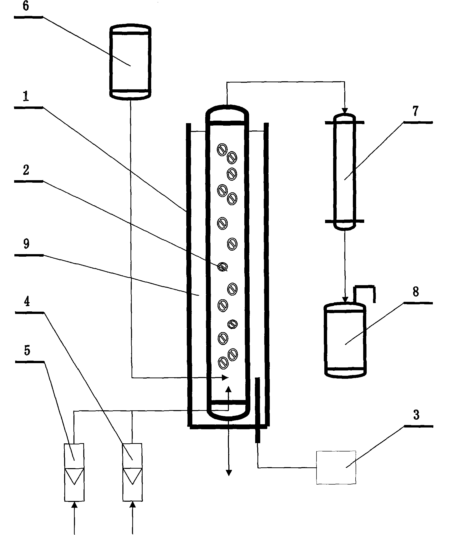
得到叔丁基乙烯基醚,在该反应中加入了助催化剂二异丙基氨基锂,溶剂1
图片尺寸1779x2120
顺(反)-1-甲基-4-叔丁基环己烷的构象为什么这样写?
图片尺寸600x261
1,3-双(叔丁基过氧异丙基)苯
图片尺寸484x300