取暖器结构

yt工厂储热式电暖器 节能蓄能电暖器
图片尺寸490x368
牡丹江电锅炉_牡丹江蓄热式电暖器_大连旺佳新能源科技开发有限公司
图片尺寸1032x1015
对流电暖器工作原理详解
图片尺寸766x1000
取暖器的制作方法
图片尺寸804x1000
电暖器的制作方法
图片尺寸997x1000
一种便携式取暖器
图片尺寸1694x1953
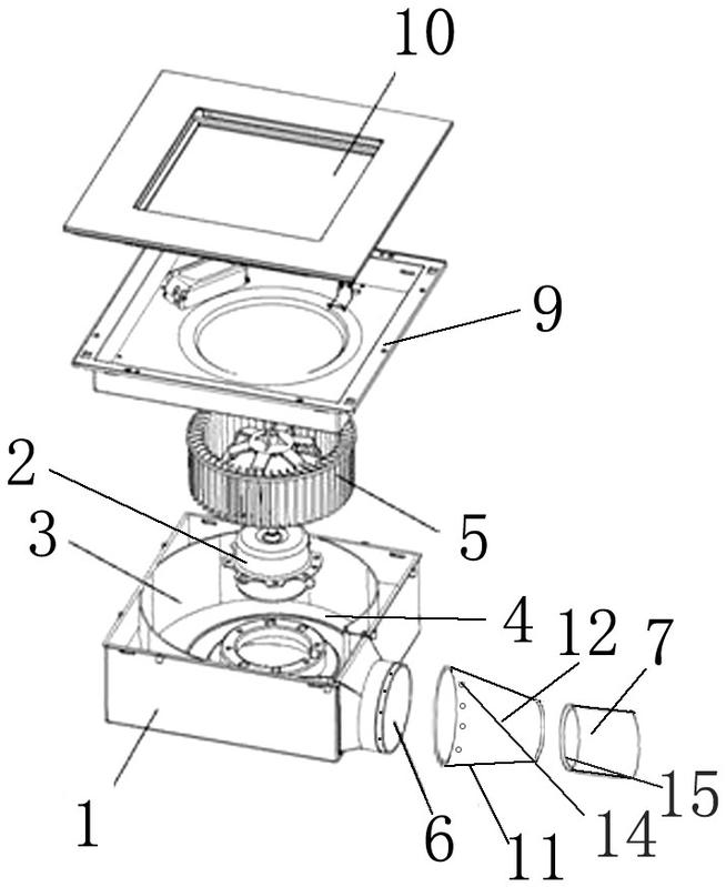
它包括取暖器壳体以及设置在壳体内的风机组成,所述壳体呈方形结构
图片尺寸654x799
cn2069085u_蒸汽取暖器失效
图片尺寸2592x2624
背景技术:油汀又叫充油取暖器.
图片尺寸878x1000
一种具有多功能面板的油汀取暖器的制作方法
图片尺寸578x1000
油汀取暖器如何维修
图片尺寸585x440
背景技术::现有取暖器的热保护装置结构普遍为:将发热体固定在固定架
图片尺寸761x1000
一种带有防触电结构的防雷取暖器-爱企查
图片尺寸691x800
一种便于使用的石墨烯电暖器的制作方法
图片尺寸432x443
包括取暖器本体上的油箱,油箱配合设有油泵,油箱呈密闭式结构,其与
图片尺寸800x776
目前,油汀取暖器是冬季人们常用的取暖装置之一,由于其结构紧凑耐用
图片尺寸443x435
一种电取暖器的安放结构的制作方法
图片尺寸1455x1289
油汀电暖器的制作方法
图片尺寸382x443
一种石墨烯电暖器
图片尺寸493x364
一种加湿型电暖气的制作方法
图片尺寸916x1000