取样口设计

vocs废气排气筒采样口规范化设置附案例解析
图片尺寸930x1333
蒲公英论坛 69 设备工程 69 工程设计 69 纯化水取样口采用卫生
图片尺寸960x1280
废气采样口,排气筒规范化设置要求
图片尺寸883x681
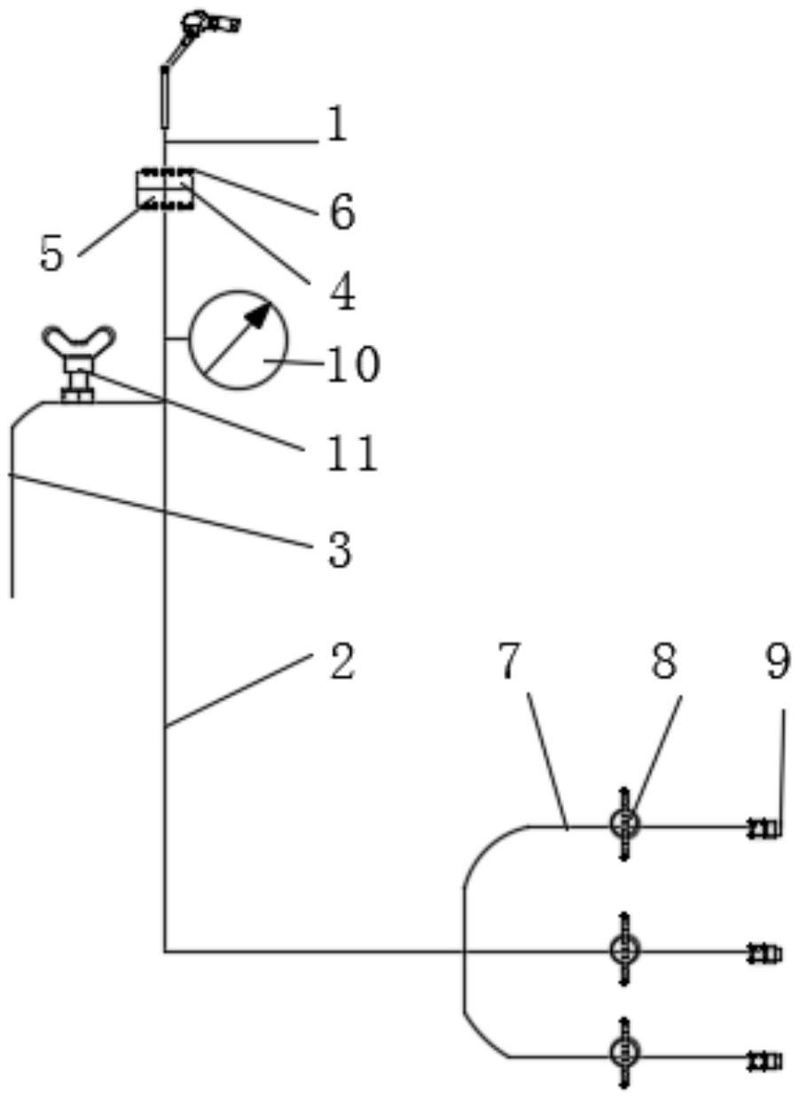
一种油烟管道的取样口的制作方法
图片尺寸1000x849
上海易挥发取样/采样系统设计,取样/采样
图片尺寸622x798
化工工艺奇葩设计126之醉人的取样口
图片尺寸850x1131
风管风量检测口测定孔废气粉尘取样口观察口环保检查口圆形方形
图片尺寸1200x1200![[施工改造] 纯化水取样口采用卫生球阀还能用吗?](https://i.ecywang.com/upload/1/img1.baidu.com/it/u=2064694083,881284478&fm=253&fmt=auto&app=138&f=JPG?w=336&h=590)
[施工改造] 纯化水取样口采用卫生球阀还能用吗?
图片尺寸336x590
君吻废气采样口dn80 取样口 环保检测孔 除尘测量孔 风量测定孔 铝
图片尺寸800x765
烟囱采样口
图片尺寸300x424
vocs废气排气筒采样口规范化设置附案例解析
图片尺寸887x700
图12,环境的影响,是指取样口位置的空气环境,采样时应避开风,尘,雾霾
图片尺寸1080x764
vocs废气排气筒采样口规范化设置附案例解析
图片尺寸993x1455
巴陵石化污水固定排放口采样设备.jpg
图片尺寸800x687
取样口安装完成
图片尺寸3021x4029
取样口下方视图
图片尺寸414x469
排气口式真空取样阀,zqy41f排气口式真空取样阀,品牌厂家-上海良大
图片尺寸594x321
一种化粪池排水口水体取样装置-爱企查
图片尺寸902x1239
西藏自动密闭取样采样装置价格
图片尺寸705x872
储罐的取样口放这合适吗?
图片尺寸1052x780