变速器的锁止装置

当变速器切换至p挡时,停车锁止机构便会将变速器的输出轴锁止,也就是
图片尺寸640x444
自动变速箱锁止机构原理图
图片尺寸640x384
变速器锁止装置有哪些作用?
图片尺寸654x456
对于传统的手动变速器,换挡杆天然就应该待在中控地台.
图片尺寸514x292
变速器倒档锁止装置-爱企查
图片尺寸1417x1371
汽车变速器倒挡锁止装置-爱企查
图片尺寸1588x1133
p档锁止机构的结构及锁止螺丝.仔细观察,以便正确装复.
图片尺寸1080x810
自动变速箱的p挡锁止机构… 查看本楼
图片尺寸900x506
自动变速箱的p挡锁止机构… 查看本楼
图片尺寸576x1024
通过液力变矩器中导轮和锁止离合器的调节,它能让at变速箱各挡位的
图片尺寸720x508
变速器驻车机构解析
图片尺寸471x376
变速器定位锁止装置
图片尺寸343x353
为了防止车辆前进时误挂入倒挡,进而对变速器
图片尺寸500x345
atf自动变速箱的锁止离合器是干什么用的换挡冲击解惑
图片尺寸700x557
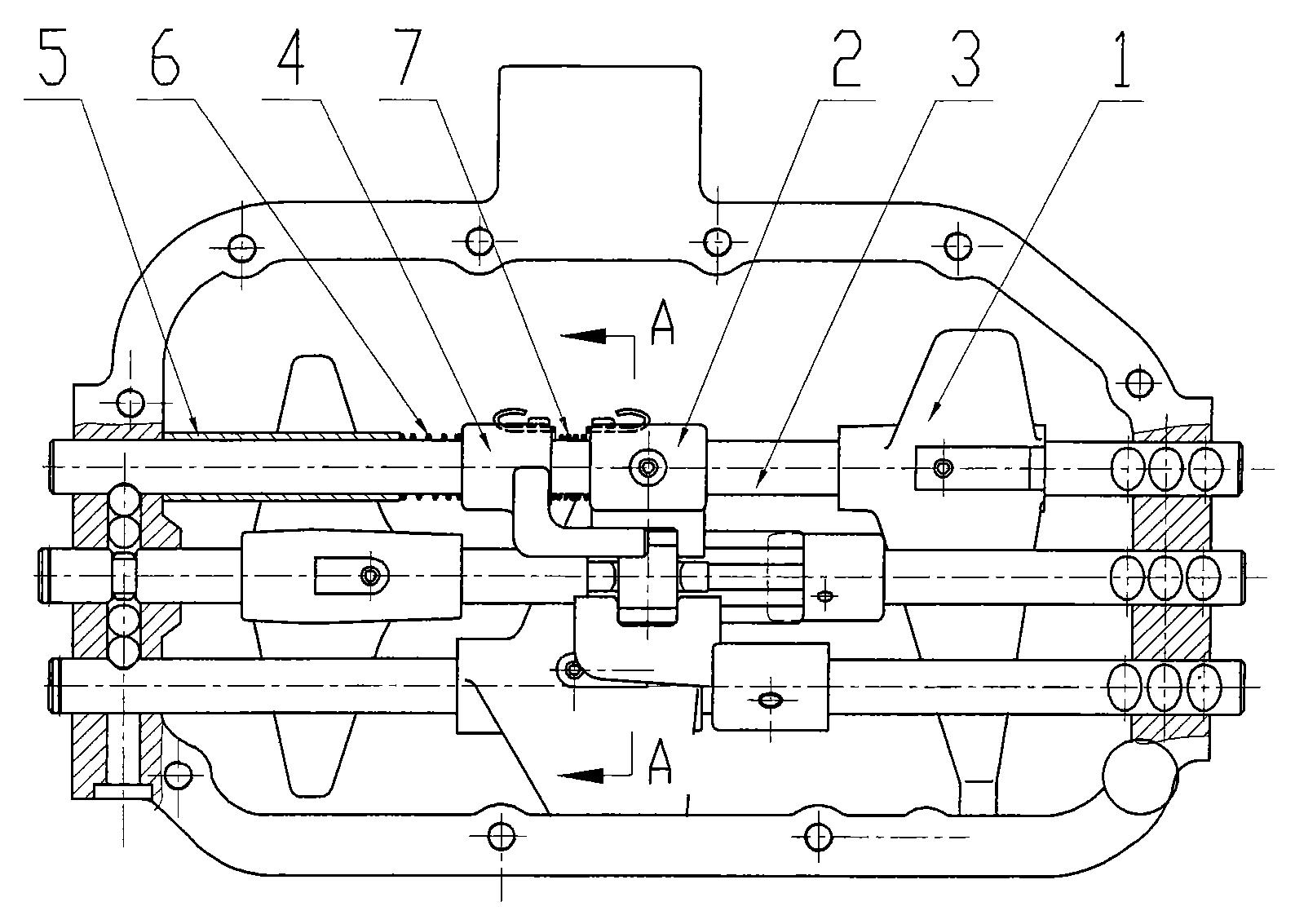
变速杆锁止装置变速器换档时,驾驶人操纵变速杆,变速杆带动拨叉轴上
图片尺寸498x493
请教一个机械原理,p档是如何锁止车辆的?
图片尺寸1646x926
汽车机械机构原理高清机械原理动画
图片尺寸786x425
无级变速器 p 档锁止 *
图片尺寸453x303
p档熄火变速器很受伤?停车必须n挡熄火?
图片尺寸461x402
中间轴的红圈部分是p档的锁止机构.
图片尺寸900x506