叠合板图纸解析

77-叠合板构件详图,空调板构件详图,预制楼梯板构造详图,图纸目录
图片尺寸614x506
预制混凝土叠合板设计制作及安装技术
图片尺寸640x430
装配式混凝土建筑预制构件-叠合楼板
图片尺寸595x843
叠合楼面节点详图(4张)
图片尺寸727x494
叠合板图纸怎么看
图片尺寸592x421
装配式地下车库叠合板全过程施工工艺,一步一图教会你!
图片尺寸1065x696
图集:桁架钢筋混凝土叠合板(60mm厚底板) 15g366-1
图片尺寸1234x8556
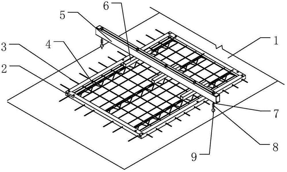
一种免拆模装配式叠合楼板的生产工艺
图片尺寸1979x1206
叠合楼板节点1
图片尺寸800x599
叠合板构造
图片尺寸760x570
预制混凝土叠合板设计_制作及安装技术
图片尺寸863x372
预制混凝土叠合板设计,制作及安装技术
图片尺寸466x381
叠合板剖面图
图片尺寸660x455
叠合楼板万能浇头混凝土
图片尺寸600x426
干货分享!改进:叠合板不出筋,拼缝也不裂
图片尺寸571x877
钢筋桁架混凝土叠合楼板试验及有限元分析
图片尺寸760x497
叠合板端部连接构造图
图片尺寸554x431
cn212200950u_一种预应力桁架钢筋叠合板有效
图片尺寸1000x599
双向叠合板拼缝展示
图片尺寸969x548
一种叠合楼板
图片尺寸1474x790