口服液瓶简笔画

1月31日晚,"双黄连口服液可抑制新型冠状病毒"的消息一出,在各
图片尺寸720x808
一种带有吸管的口服液瓶-爱企查
图片尺寸706x1169
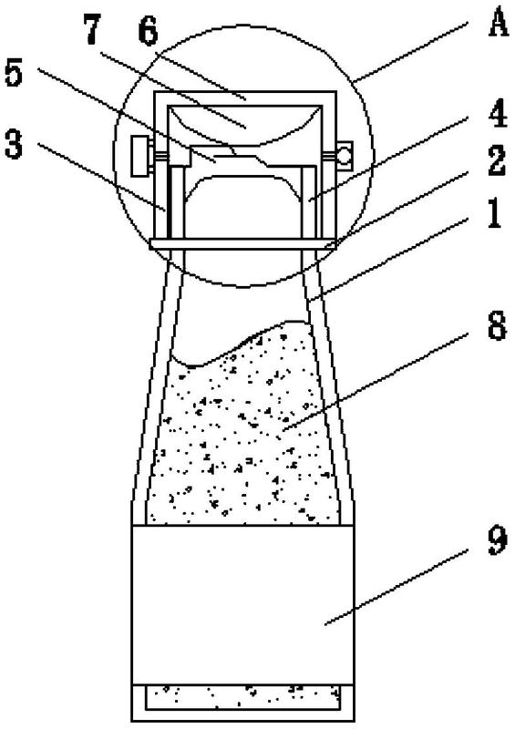
一种口服液瓶
图片尺寸422x719
药瓶儿童画怎么画 药瓶简笔画简单又好看
图片尺寸800x416
cn201431626y_一种带有吸管的口服液瓶有效
图片尺寸706x1169
口服液包装瓶
图片尺寸428x824
药瓶儿童画怎么画 药瓶简笔画简单又好看
图片尺寸800x416
关键词 : 药品,口服液,药瓶,服用
图片尺寸610x666
对口服液瓶进行收纳的容器,它的出现可以方便人们使用,它不但结构简单
图片尺寸297x444
一种口服液药瓶-爱企查
图片尺寸495x800
卡通口服液瓶子设计图__其他_动漫动画_设计图库_昵图网nipic.com
图片尺寸677x1024
口服液瓶简笔画
图片尺寸500x543
医疗抗疫简笔画如何画医药瓶
图片尺寸720x480
一种儿科用口服液瓶的制作方法
图片尺寸343x443
手绘卡通口服液素材
图片尺寸780x780
幼儿服药简笔画
图片尺寸500x677
大毫升瓶子简笔画
图片尺寸900x600
一种易开启环保口服液包装瓶-爱企查
图片尺寸565x800
一次成型的口服液药瓶-爱企查
图片尺寸424x1405
一种易开启口服液瓶的制作方法
图片尺寸1000x679