口红内部结构图纸

一种节约型口红结构
图片尺寸326x443
一种新型口红结构的制作方法
图片尺寸728x1000
口红的制作方法
图片尺寸827x1000
口红睫毛膏双拼结构制造技术
图片尺寸510x1000
一种结构简单的口红的制作方法
图片尺寸428x1000
一张图让直男认识口红显卡口红
图片尺寸1080x1440
一种稳定型弹跳口红的制作方法
图片尺寸319x443
口红包材客制化需求的探讨
图片尺寸1024x1024
一种咬唇式口红结构的制作方法与工艺
图片尺寸754x1000
这个按照年代发布口红颜色的化妆品牌很迷人啊
图片尺寸931x595
这是唇膏内部结构使用图
图片尺寸900x636
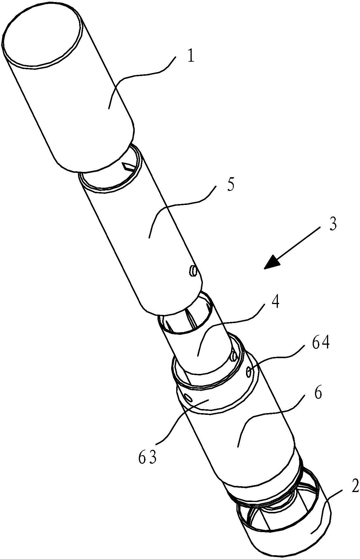
其包括:连接管,两个口红组件,联动结构和连接结构;两个口红组件分别
图片尺寸1875x2174
一种口红管的制作方法
图片尺寸1000x771
一种斜管口红 - cn201720479787.
图片尺寸645x1000
cn206852276u_无油型润唇膏中束芯有效
图片尺寸1000x757
一种方便脱料的口红注塑模具
图片尺寸911x1000
一种防膏体挤压的口红管-爱企查
图片尺寸1232x1912
兰蔻295口红真假对比图
图片尺寸1080x1439
一种中束芯对接吸附口红制造技术
图片尺寸614x1000
一种口红管抹胶机构的制作方法
图片尺寸557x1000