古代墨盘简笔画

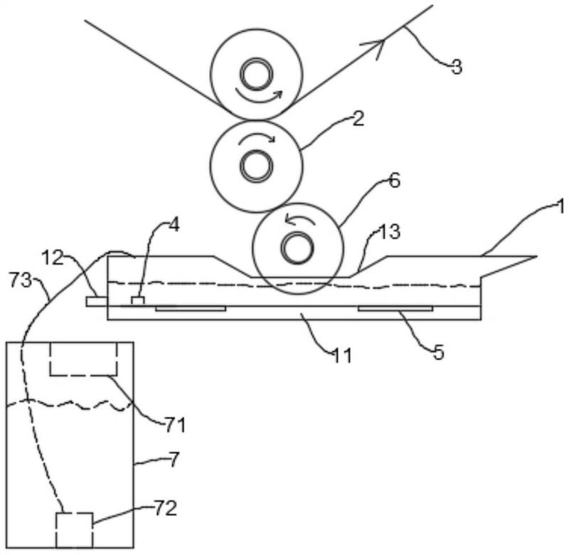
了一种多功能墨盘,包括盘体,盘体内底面倾斜设置,盘体内设置有舔笔台
图片尺寸260x226
墨盘简笔画大全(墨块的简笔画) -【爱个性】
图片尺寸750x500
多功能墨盘的制作方法
图片尺寸1000x870
墨盘简笔画彩色
图片尺寸500x372
餐盘画简笔画
图片尺寸800x450
雕刻大师绘制墨盘png
图片尺寸650x489
碟仙纸简笔画
图片尺寸708x500
摘要附图摘要本实用新型公开了一种恒温电加热墨盘
图片尺寸800x780
墨盘墨笔图片_墨盘墨笔素材_墨盘墨笔模板免费下载-六图网
图片尺寸265x354
蘸墨盘简笔画
图片尺寸300x200
墨砚的简笔画
图片尺寸500x500
矢量素材水墨图片墨点ps笔刷墨点笔刷图片水墨画笔刷图片20种油漆水墨
图片尺寸265x252
三不沾简笔画
图片尺寸607x500
画卷 长卷画 书桌 画轴 圣旨 古书籍 墨盘 书架 木台灯 画作 片头
图片尺寸400x285
墨盘
图片尺寸360x360
成语大全:文房四宝简笔画
图片尺寸900x600
青弋陶瓷墨碟笔舔笔搁小水碟盛墨汁用墨池墨盒墨盘笔洗初学者学生书法
图片尺寸400x400
一种凹版印刷机的油墨盘制造技术
图片尺寸1000x412
青弋陶瓷墨碟笔舔笔搁小水碟盛墨汁用墨池墨盒墨盘笔洗初学者学生书法
图片尺寸400x400
墨盘
图片尺寸1350x1800