古代榨油机结构原理

芝麻榨油机 茶子榨油机 花生榨油机 芝麻榨油机 螺旋榨油机
图片尺寸838x612
榨油机结构图
图片尺寸891x755
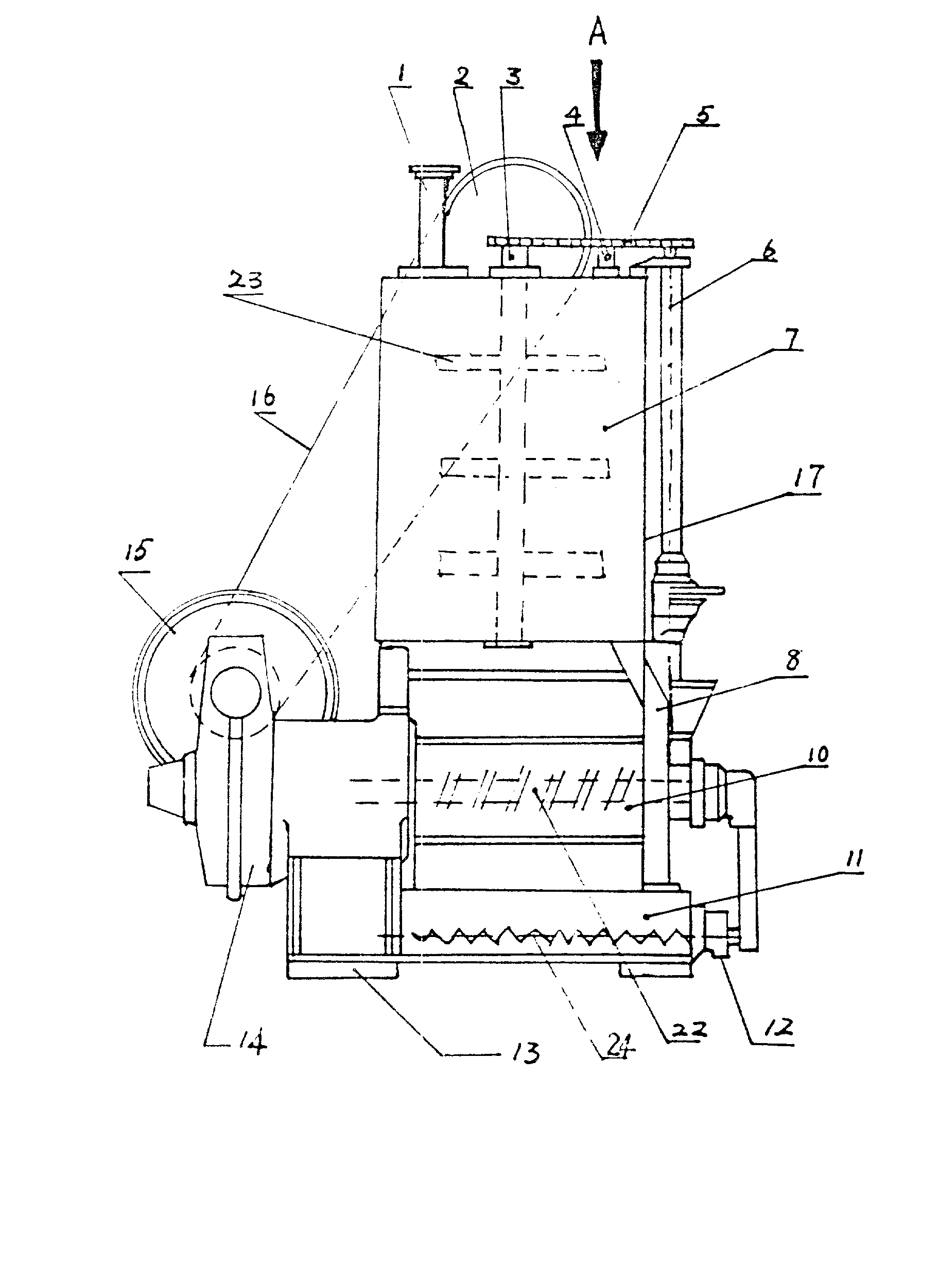
螺旋榨油机的典型结构(图)包括:进料装置,榨膛(榨笼与榨螺轴),调饼
图片尺寸896x778
花生榨油机的工作原理与构造 (转载)
图片尺寸4160x3120
一,工作原理与构造: 1,工作原理: 榨油机运转时,将处理好的料胚
图片尺寸547x289
螺旋榨油机的原理和古法榨油的原理很相似,通过齿轮转动带动榨螺旋转
图片尺寸512x396
一种榨油机
图片尺寸1824x2503
榨油机工作原理
图片尺寸485x364
双象榨油机结构
图片尺寸655x468
芝麻榨油机结构
图片尺寸544x299
榨油机的压榨取油步骤
图片尺寸449x383
榨油机的制作方法
图片尺寸1000x982
螺旋榨油机常见故障及解决措施
图片尺寸861x610
双象榨油机为您解读螺旋榨油机结构和榨油过程
图片尺寸577x469
一种螺旋静音榨油机
图片尺寸1674x1726
一种能够加热的榨油机的制作方法
图片尺寸459x405
一种螺旋式榨油机的制作方法
图片尺寸485x413
螺旋榨油机结构双螺旋榨油机结构如图所示,主要由进料装置,减速机构
图片尺寸486x307
一种可提高出油率的两级榨油机的制作方法
图片尺寸1000x968
芝麻油压榨处理设备企鹅牌液压榨油机勇于创新效率高
图片尺寸680x1008