可旋转固定装置

快速旋转固定夹紧装置
图片尺寸820x540
一种专用于机床上的夹紧装置,可以将工件固定在机器上进行旋转和加工
图片尺寸511x500
rd7524ce 旋转培养装置
图片尺寸709x709
圆柱形工件旋转定位夹具旋v转固定机构自由导向焊接夹具机械手
图片尺寸400x379
旋转固定装置模型图
图片尺寸300x225
旋转固定装置
图片尺寸300x225
可拆卸旋转的手机通用固定装置-爱企查
图片尺寸1456x679
一种巴哈赛车加工用可旋转固定装置
图片尺寸423x443
适用于 3 个显示器(7 千克),可调节,可旋转,倾斜,电线导向,夹紧固定
图片尺寸679x602
旋转展示平台装置
图片尺寸820x585
一种可旋转数控机加夹具定位装置-爱企查
图片尺寸1412x1099
倾斜旋转和摇摆式屏幕支臂单摆臂带锁定装置
图片尺寸400x400
2 爪 3 爪高转速低扭矩整体气缸 rts 旋转空气卡盘固定装置内置卡盘阀
图片尺寸1000x1000
3款dk快动旋转装置夹
图片尺寸820x583
一种专用于机床上的夹紧装置,可以将工件固定在机器上进行旋转和加工
图片尺寸504x384
工匠解说2020基座相对固定;主轴旋转装置可延z轴方向上下运动,实现钻
图片尺寸1167x727
一种可自动旋转的固定装置的制作方法
图片尺寸1000x826
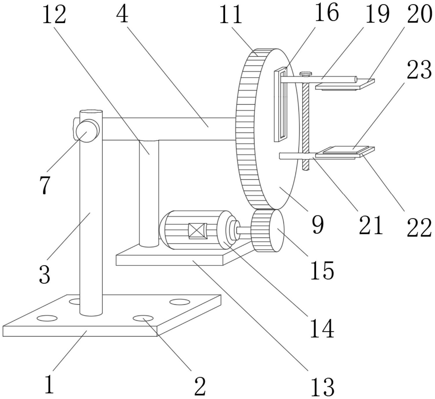
cn213196331u_一种焊接机器人用旋转固定装置
图片尺寸1498x1374
一种搓管机管道固定旋转装置
图片尺寸1729x1401
一种弧形件装夹旋转装置-爱企查
图片尺寸682x800