台式攻丝机原理

台式攻丝机-主轴正反转的原理,请教
图片尺寸410x342
cn101342620a_双速自动攻丝机床有效
图片尺寸1468x2669
一种攻丝机气动刹车装置-爱企查
图片尺寸1752x2070
液压型钢筋套筒全自动攻丝机锥丝机
图片尺寸606x476
攻丝完毕电机反转快速"退刀"
图片尺寸597x303
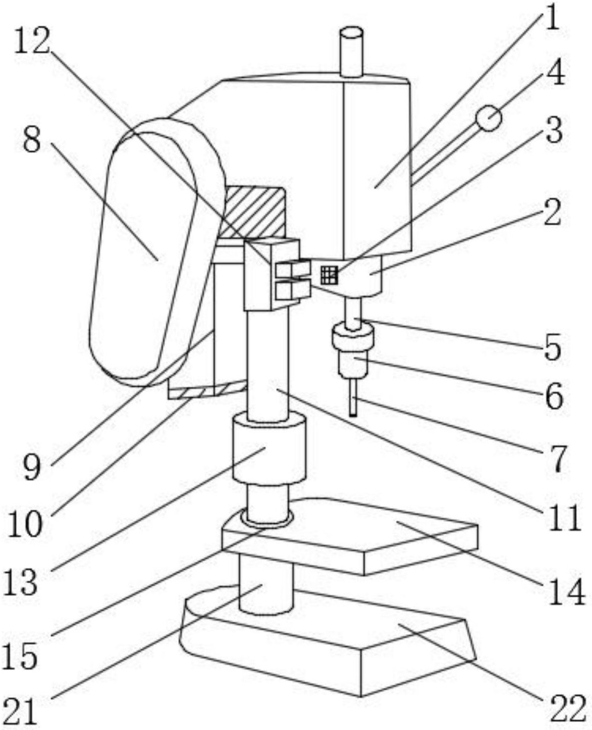
一种钻孔攻丝机床
图片尺寸2758x1699
全自动攻丝机结构设计及控制_金敉娜
图片尺寸865x760
双狮08全自动攻丝机钻孔攻牙机多轴攻丝机
图片尺寸800x800
cn201385163y_一种攻丝机有效
图片尺寸1660x1205
一种带有消音装置的台式攻丝机-爱企查
图片尺寸1173x1448
4508/203多头攻丝机攻牙机
图片尺寸650x451
攻牙机正反转电路接线图
图片尺寸597x422
钱江龙工业级钻攻两用机zs4112b 16 20 25mm钻孔攻丝一体台式台钻
图片尺寸800x800
攻丝机 气动攻丝机 结构示意图
图片尺寸696x774
博阳机械 供应数控钻床bzk-20 数控机床 数控台钻
图片尺寸667x457
台式等螺距攻丝机
图片尺寸2240x2208
一种转台式的攻牙机的制作方法
图片尺寸310x331
攻丝,铣,钻床电路图
图片尺寸549x389
好物推荐ctg16台式攻丝机工业级攻牙机学校教学家用小型机床生产攻丝
图片尺寸750x486
自动钻孔攻丝机床的plc控制
图片尺寸1151x520