台式攻丝机原理图

台式攻丝机-主轴正反转的原理,请教
图片尺寸410x342
攻丝,铣,钻床电路图
图片尺寸549x389
一种攻丝机气动刹车装置-爱企查
图片尺寸1752x2070
自动攻丝机的过载保护装置-爱企查
图片尺寸605x371
包括一个工作台,其特征在于:所述工作台上设有结构对称的第一攻丝机和
图片尺寸2006x2783
一种转台式的攻牙机的制作方法
图片尺寸310x331
正反转电路原理图和接线图
图片尺寸596x412
一种攻丝机-爱企查
图片尺寸1100x1378
一种小型件的台式攻牙机-爱企查
图片尺寸1331x1268
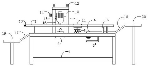
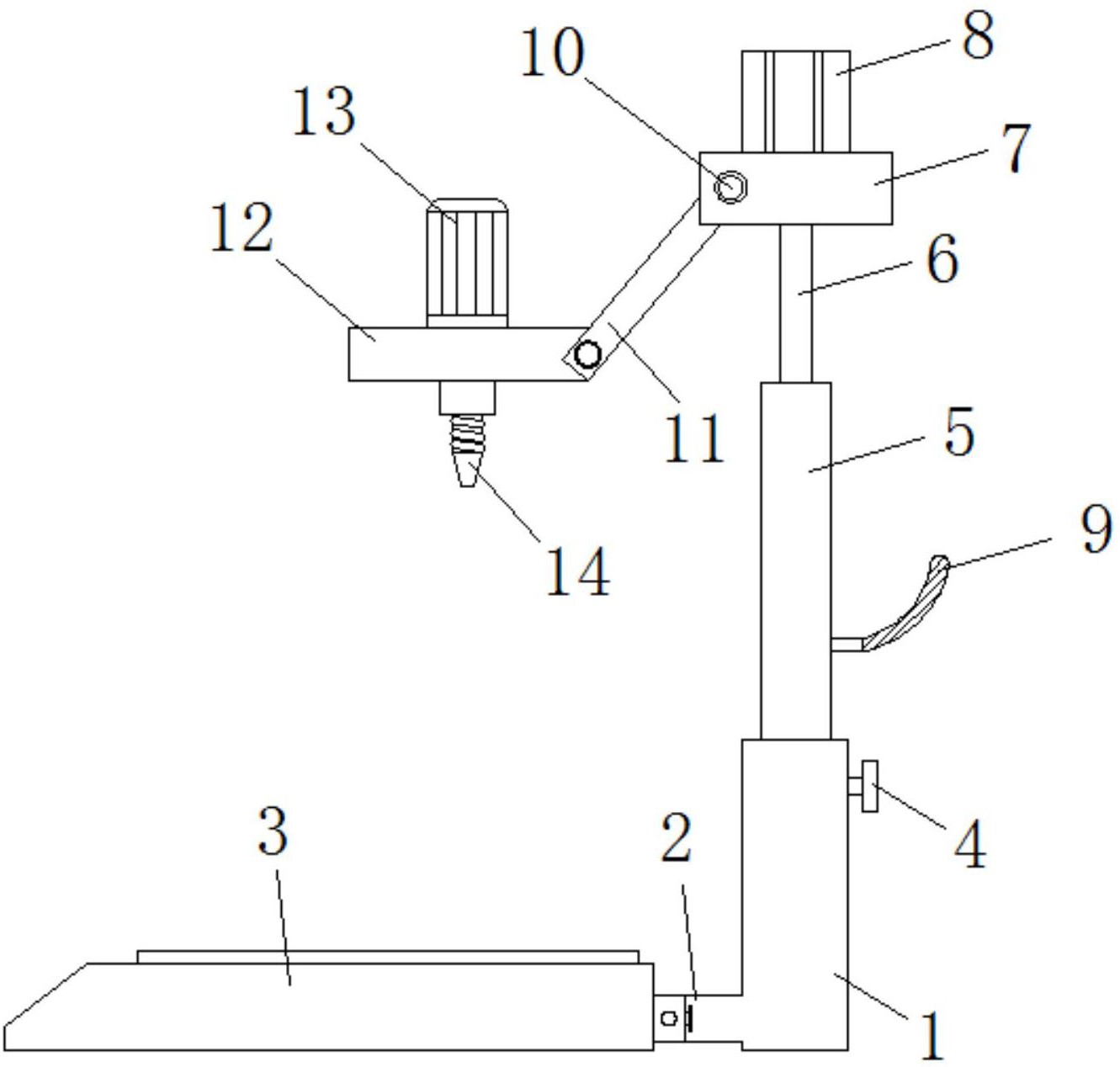
一种钻孔攻丝机床
图片尺寸2758x1699
一种具有缓冲结构防撞刀功能的齿轮式自动攻牙机-爱企查
图片尺寸1711x1543
一种自动钻孔攻牙机-爱企查
图片尺寸1675x991
液压型钢筋套筒全自动攻丝机锥丝机
图片尺寸606x476
一种高速钻孔攻牙机-爱企查
图片尺寸1201x1298
台湾将军多轴攻丝机 自动攻牙机 齿轮式自动攻牙机gt3-231
图片尺寸600x472
攻牙机正反转电路接线图
图片尺寸597x422
一种精密螺帽攻牙机-爱企查
图片尺寸475x212
一种全自动钻孔攻牙机-爱企查
图片尺寸2086x1239
数控钻床bzk20数控钻攻两用机数控攻丝机钻攻一体机
图片尺寸667x457
一种攻牙机攻牙机构的制作方法
图片尺寸1000x884