台式攻丝机结构图

台式攻丝机-主轴正反转的原理,请教
图片尺寸410x342
热卖福州品牌攻牙机内螺纹s4116台式攻丝机m16工业夹头钻
图片尺寸750x584
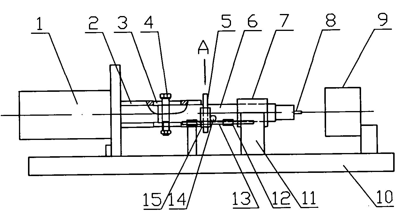
包括一个工作台,其特征在于:所述工作台上设有结构对称的第一攻丝机和
图片尺寸2006x2783
密封式钻孔攻丝机
图片尺寸800x1111
西菱攻丝机2021工业级钻床多功能台式攻丝机手动内螺纹机套丝机
图片尺寸730x817
定制适用工业台钻小型台式钻床一体大功率钻铣床攻三用多功能攻丝机
图片尺寸800x1044
台湾将军多轴攻丝机 自动攻牙机 齿轮式自动攻牙机gt3-231
图片尺寸600x472
钱江龙工业级钻攻两用机zs4112b 16 20 25mm钻孔攻丝一体台式台钻
图片尺寸800x800
全自动攻丝机结构设计及控制_金敉娜
图片尺寸865x760
台式等螺距攻丝机
图片尺寸2240x2208
攻牙机_攻牙机_多轴攻牙机_多轴攻牙机_全自动多头攻牙机,多孔攻丝机
图片尺寸650x412
攻牙机正反转电路接线图
图片尺寸597x422
西湖攻丝机swj-16 攻丝机攻牙机西湖
图片尺寸750x750
攻丝机,包括机架,机架上设有由电机带动的主轴,主轴前端为空心结构
图片尺寸1368x741
一种攻丝机制造技术
图片尺寸798x1000
一种五金零件加工用攻牙机
图片尺寸837x1000
工业级台钻家用小型台转多功能台式钻床高精度钻孔机器大功率电钻z516
图片尺寸790x675
自动可调多轴攻丝机床
图片尺寸1632x2311
数控钻床bzk20数控钻攻两用机数控攻丝机钻攻一体机
图片尺寸667x457
4508齿轮式多轴攻丝机四轴攻牙机自动上下攻牙多头攻牙机 4508配方形
图片尺寸750x920