台灯结构

青岛版六三制2017秋四年级下册第7单元设计制作小台灯单元复习课件10
图片尺寸860x484
我的小台灯
图片尺寸1080x810
【淘宝畅销第一】触摸调光led护眼台灯 学生儿童学习工作灯具
图片尺寸600x836
冀美版六年级美术下册12灯造型设计课件22张ppt
图片尺寸860x484
素描结构详细教程:台灯的教学笔记
图片尺寸1078x1437
随着科技的发展和人们对照明需求的不断提高,台灯的构造原理也在不断
图片尺寸2302x1280
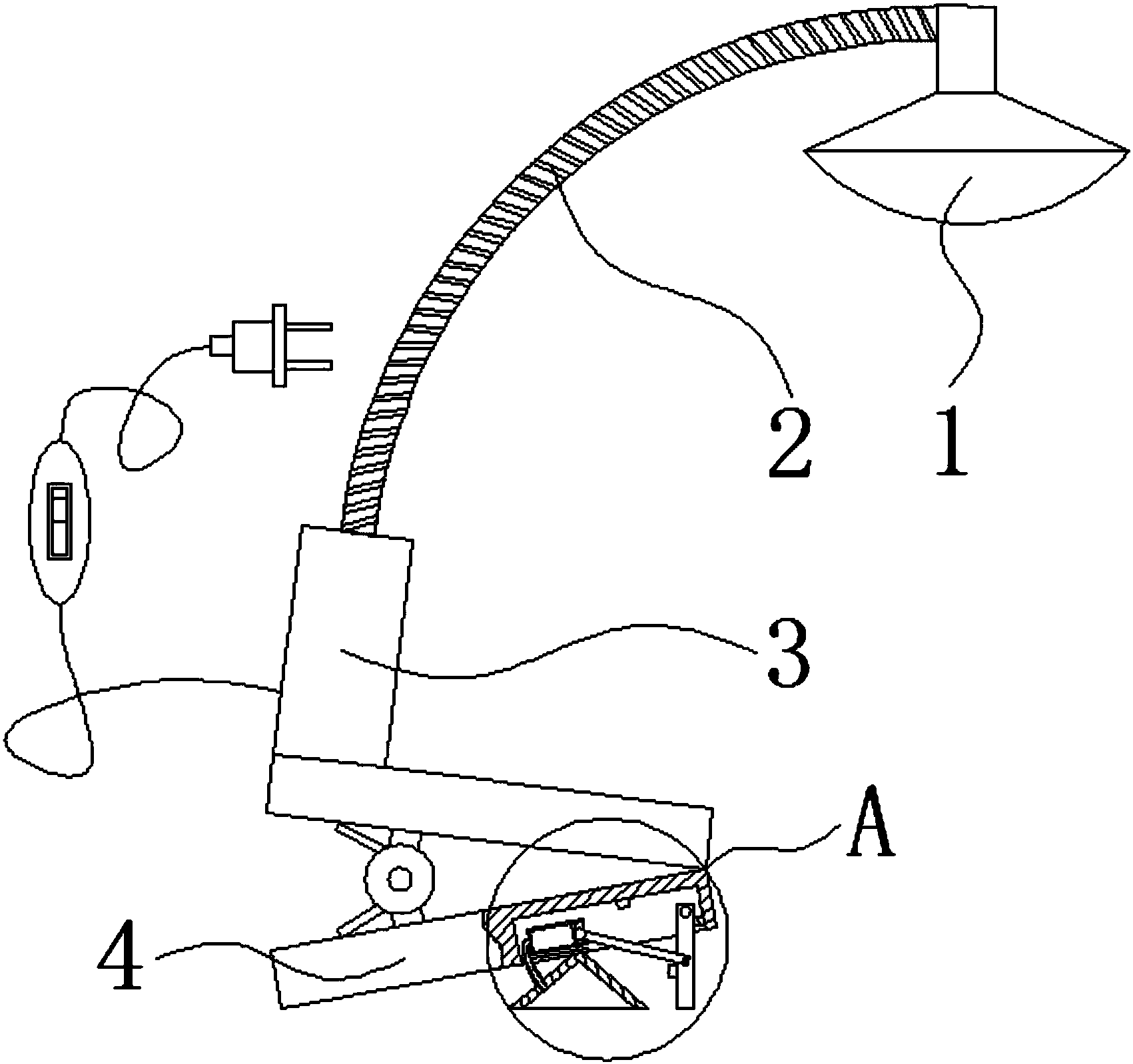
一种台灯的制作方法
图片尺寸1000x986
雄川led小台灯 结构说明
图片尺寸750x446
张拉整体结构摆件创意无线充电台灯科学实验悬浮平衡模型生日礼物
图片尺寸790x790
亮朵台灯家用学习护眼台灯卧室床头灯学生宿舍神器读书阅读长臂折叠
图片尺寸790x505
cn205208240u_多用途软管台灯有效
图片尺寸906x1000
一种led防水台灯-爱企查
图片尺寸500x800
天徕 中式仿古冰裂纹装饰台灯 客厅卧室陶瓷创意灯具 壶型台灯
图片尺寸763x1024
一种便于安放的移动台灯
图片尺寸1701x1598
一种结构合理稳固的台灯的制作方法
图片尺寸589x779
新品新古典后现代欧式美式清新卧室装饰床头可调光陶瓷大台灯摆件
图片尺寸750x395
cn2260238y_自动调光台灯失效
图片尺寸2000x1778
cn201386946y_led节能环保护眼台灯失效
图片尺寸1624x2157
一种便于调节角度的台灯的制作方法
图片尺寸986x1000
nvc 雷士 led护眼灯大学生书桌阅读灯可调光儿童学习带风扇led台灯
图片尺寸970x300