叶滤机工作示意图

图8-36 水平滤叶型叶滤机
图片尺寸493x586
加压叶滤机结构及工作原理
图片尺寸800x600
各种过滤设备工作原理及结构分析(动画演示)
图片尺寸637x514
叶滤机培训ppt
图片尺寸1080x810
化工设备原理动画-加压叶滤机(翻录12)_哔哩哔哩 (゜-゜)つロ 干杯
图片尺寸1440x900
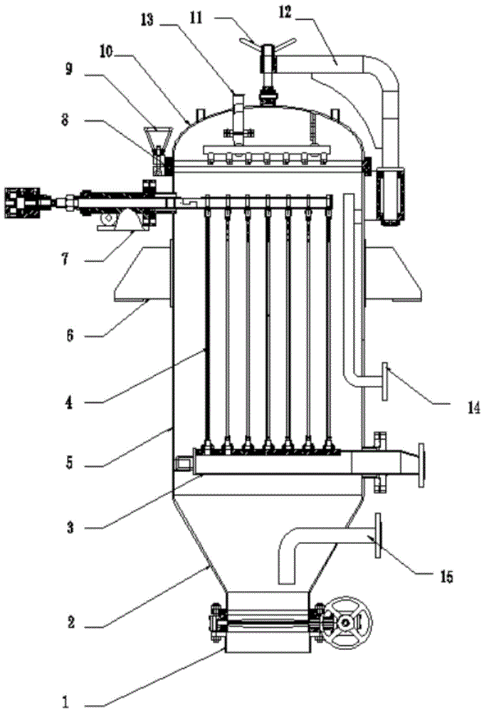
一种5立方密封式叶滤机的制作方法
图片尺寸680x1000
立式叶滤机ppt
图片尺寸1080x810
cn211987311u_一种5立方密封式叶滤机有效
图片尺寸680x1000
图8-37 华雷兹型叶滤机
图片尺寸1564x682
一种立式叶片过滤机制造技术
图片尺寸844x1000
叶片过滤机内部结构示意图
图片尺寸710x390
叶片过滤机结构示意图
图片尺寸710x566
立式叶滤机结构示意图
图片尺寸122x160
拜耳法生产氧化铝叶滤机的制作方法
图片尺寸395x443
01压滤机结构和工作原理
图片尺寸750x458
一种多功能过滤机的制作方法
图片尺寸529x812
dh型过滤机
图片尺寸600x649
(1)转筒真空过滤机的结构3转筒真空过滤机工作原理如下所示:叶滤机的
图片尺寸580x573
jbt90971999加压叶滤机pdf
图片尺寸860x1216
立式叶片过滤机
图片尺寸220x156