叶片锁结构图

c级叶片锁芯的结构原理及安全性
图片尺寸598x283
玥玛锁芯防盗门玥玛锁芯多轨道防盗门锁芯c级铜叶片锁芯大门防锡纸65
图片尺寸790x921
cn201460461u_一种可置换锁芯的叶片锁失效
图片尺寸2206x1639
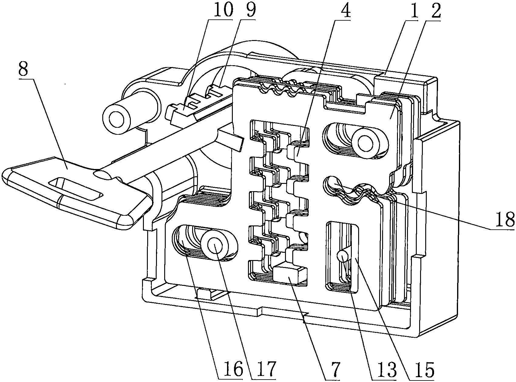
一种叶片锁的制作方法
图片尺寸1000x939
叶片锁芯,锁具及钥匙
图片尺寸1670x1474
cn201367768y_一种叶片防盗锁失效
图片尺寸2045x1274
叶片锁具制造技术
图片尺寸1000x954
一种子母弹子叶片锁芯的制作方法
图片尺寸1000x895
正品防伪 金点原子叶片锁芯/y60系列/超b级/防锡纸/防盗门锁芯
图片尺寸640x1024
一种双锁芯双叶片锁
图片尺寸504x512
叶片锁芯,锁具及钥匙的制作方法
图片尺寸1000x879
叶片锁及具有该叶片锁的应急保险门锁结构
图片尺寸800x833
叶片锁头及应用该锁头的门锁
图片尺寸1700x1259
美利保第四代超b级叶片锁结构参考图
图片尺寸800x533
金点原子(goldatom) c级双面叶片空转锁 不锈钢防打断防盗门锁锁芯
图片尺寸790x649
一种改进型叶片锁芯制造技术
图片尺寸1000x584
美利保旗舰店第四代超b级叶片锁芯防盗门锁芯防锡纸送40w财险
图片尺寸628x1024
金点原子防盗门锁芯c级双面叶片锁芯b级锁芯家用通用型
图片尺寸790x1199
美利保第四代超b级叶片锁结构参考图
图片尺寸700x513
一种前后锁定机构互控径向位移式叶片锁制造技术
图片尺寸1000x755