叶轮叶片展开图

螺旋叶片展开计算表
图片尺寸751x468
螺旋叶片展开图怎样画
图片尺寸542x671
螺旋叶片展开计算
图片尺寸677x420
caxacam制造工程师三轴叶轮造型及加工
图片尺寸4962x3508
半开式曲线叶轮多轴加工工艺设计
图片尺寸1328x939
不锈钢304叶轮加工
图片尺寸877x622
浙江厂家寻求叶轮加工 ,7075材质,数量600件
图片尺寸800x571
螺旋叶片面展开计算
图片尺寸440x507
叶轮
图片尺寸585x760
水泵叶轮形式有哪几种以及用处与优势 离心泵式水泵叶轮的叶片
图片尺寸370x246
曲面叶片的数控加工工艺设计及编程仿真叶轮零件图
图片尺寸830x654
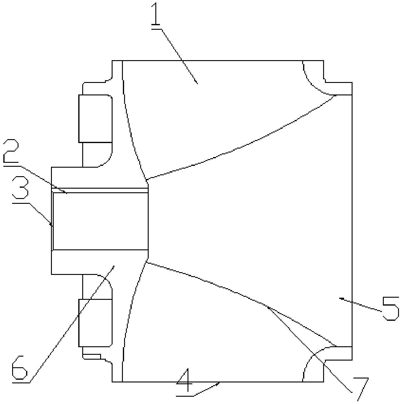
cn213064049u_一种高性能双叶片叶轮
图片尺寸1325x1330
五轴加工 叶轮加工 7075材质
图片尺寸910x644
螺旋叶片展开计算
图片尺寸892x893
图2-2叶轮叶片平面图和轴面图压出室有多种形式,如图形蜗壳,螺旋形
图片尺寸507x638
圆柱螺旋叶片展开计算
图片尺寸812x502
《钣金王》:典型工程实例—绞龙螺旋叶片展开制造 以下是某绞龙
图片尺寸750x432
新型y型叶片叶轮组装
图片尺寸300x225
增压器叶轮加工
图片尺寸446x643
离心式压缩机叶轮的类型有哪些?_叶片
图片尺寸798x634