合并轴

你知道什么是分离轴,合并轴吗?
图片尺寸2000x2666
合并轴
图片尺寸1423x431
写美篇活动名称:《会转弯的车》 活动目标: 1,会区分合并轴与分离轴
图片尺寸4032x3024
轴和键联接的基本知识.doc 14页
图片尺寸993x1404
四轴后处理旋转多余角度合并的解决办法
图片尺寸927x978
合并
图片尺寸5184x3456
变速箱,差速器,最终传到半轴上的扭矩车轮半径就可以算出最终的牵引力
图片尺寸1000x750
分离轴,合并轴飞轮转动惯量很大的盘形零件,起贮存和释放动能作用的
图片尺寸640x490
nx1888 刀路合并(merge_path) 的运用 - ug四轴/五轴 - ug爱好者
图片尺寸1912x1017
numpy中数组拼接数组合并方法总结appendconcatenatehstackvstack
图片尺寸800x388
如何把两个轴网合并
图片尺寸554x637
高速间歇升降心轴合并型分割器 德国bach巴赫
图片尺寸432x566
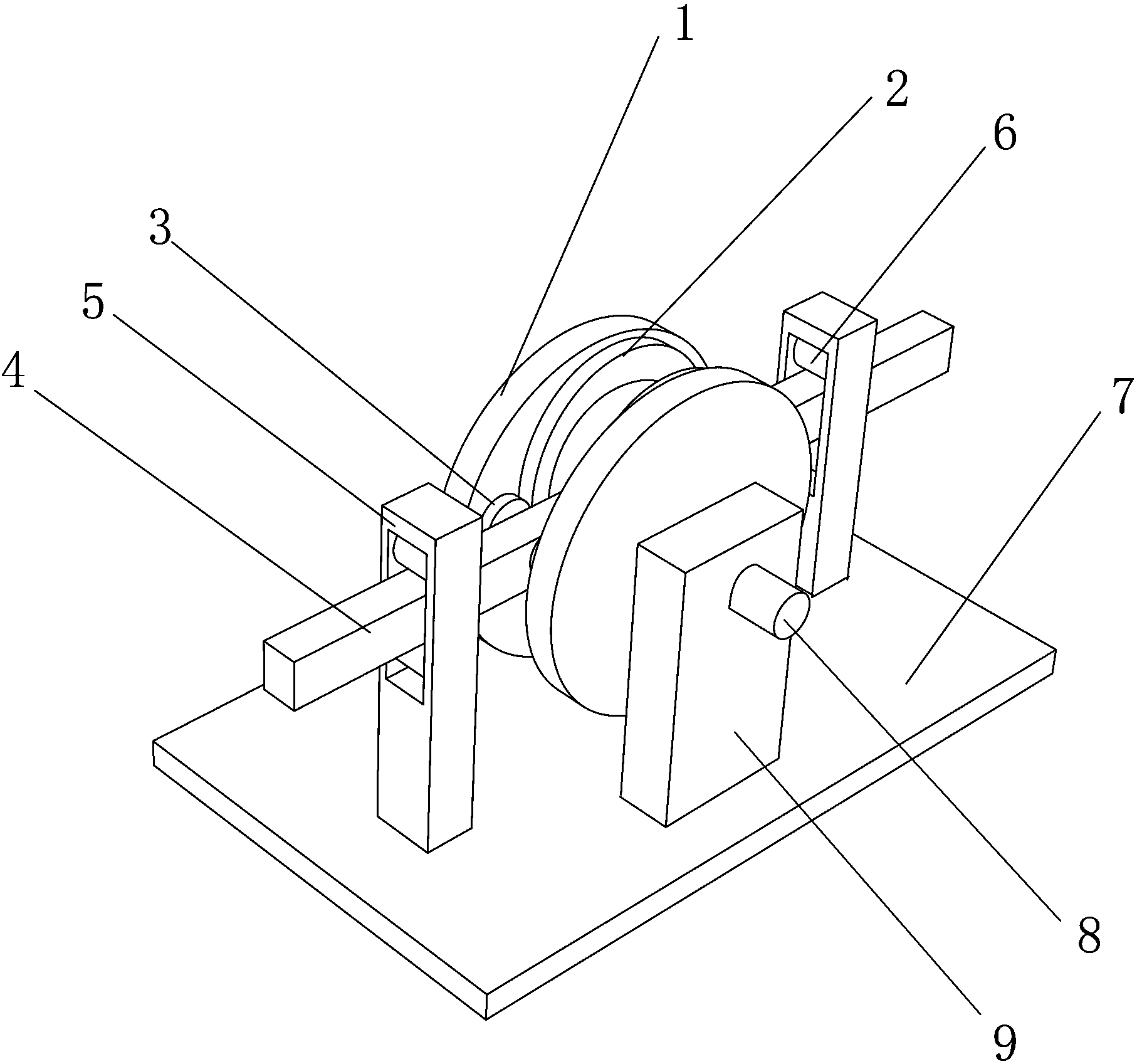
半曲轴桃圆轮合并装置
图片尺寸1814x1697
它由一个齿轮,一个驱动轴和一个周转环组成,它们正确地结合并共同工作
图片尺寸573x382
nx1888 刀路合并(merge_path) 的运用 - ug四轴/五轴 - ug爱好者
图片尺寸1398x815
origin双y轴图形画法,添加图例,合并图例
图片尺寸810x698
三轴合并什么是三轴测试aml
图片尺寸600x450
轴小车 教学目标: 1认识轮胎,轮毂,轮子; 2理解分离轴,合并轴的区别
图片尺寸750x1000![[分享]广联达合并轴网资料免费下载](https://i.ecywang.com/upload/1/img1.baidu.com/it/u=2980080601,3949728634&fm=253&fmt=auto&app=138&f=JPG?w=729&h=500)
[分享]广联达合并轴网资料免费下载
图片尺寸1210x830
3dsmax物体合并_3d溜溜网
图片尺寸266x386