合成塔结构图

氨合成塔,氨合成塔百科
图片尺寸660x821
1800整体锻焊式氨合成塔设计含cad图纸zip
图片尺寸1200x1080
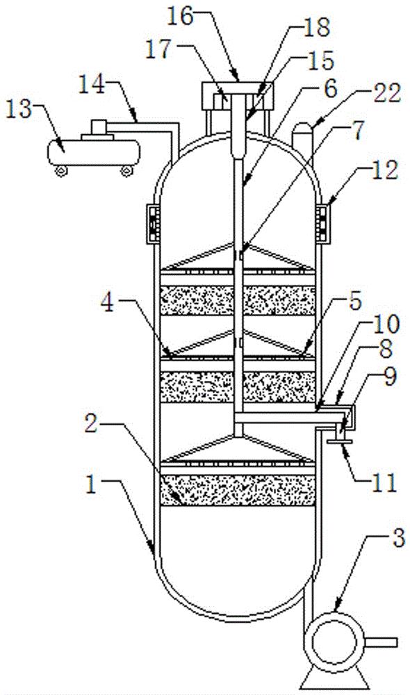
一种多段绝热间接换热节能型氨合成塔
图片尺寸1324x2788
氨合成塔
图片尺寸429x877
氨合成塔是合成氨厂的心脏,是一种结构复杂的反应器. /p>
图片尺寸497x404
cn201537483u_新型甲醇合成塔有效
图片尺寸800x1140
氨合成塔是合成氨厂的心脏,是一种结构复杂的反应器. /p>
图片尺寸600x485
氨合成塔图纸
图片尺寸820x1173
cn201158622y_带中间管板的甲醇合成塔失效
图片尺寸1329x2059
氨合成塔是合成氨厂的心脏,是一种结构复杂的反应器. /p>
图片尺寸429x877
一种气冷甲醇合成塔_cn201821622099.9_知雀网
图片尺寸597x1000
一种多段绝热间接换热节能型氨合成塔
图片尺寸800x2192
一种组合式等温隔热尿素合成塔的制作方法
图片尺寸344x443
甲醇合成塔
图片尺寸800x1006
一种甲醇合成气冷合成塔
图片尺寸655x1000
氨合成塔装配图
图片尺寸820x1158
dn1000氨合成塔
图片尺寸533x753
合成塔
图片尺寸600x426
甲醇合成塔正文.ppt
图片尺寸1152x864
cn208944055u_一种草铵膦高压催化合成塔有效
图片尺寸590x1000