合金结构图

第二章 合金的晶体结构与结晶ppt
图片尺寸1080x810
合金结构钢
图片尺寸3648x2432
国产20crmo合金结构钢
图片尺寸600x450
一种新型纳米金属材料_结构_合金_尺寸
图片尺寸838x682
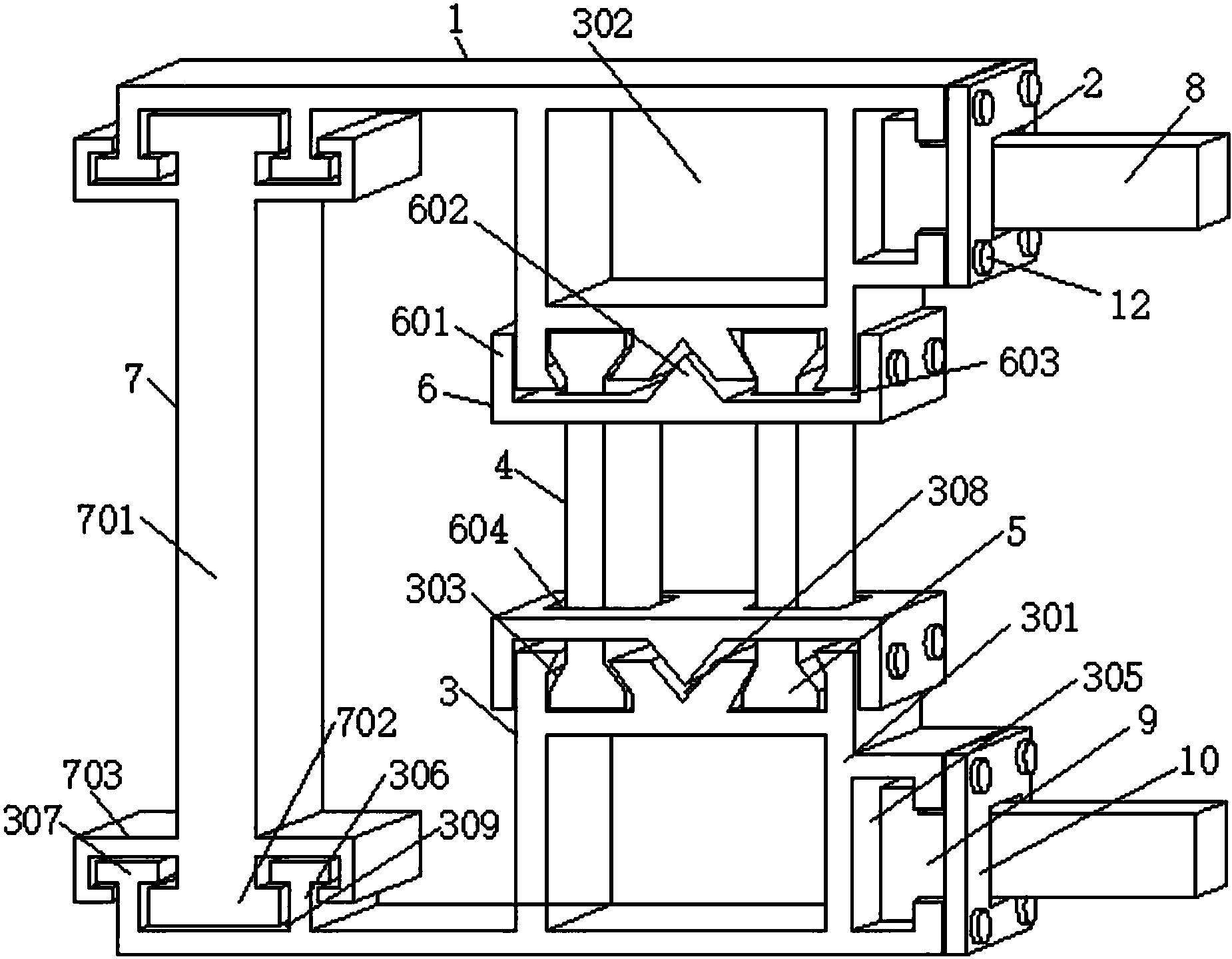
cn109356385a_一种建筑铝合金模板组合结构在审
图片尺寸1850x1439
供应铝合金压铸模具加工
图片尺寸800x484
第二节铁碳合金状态图说课.ppt
图片尺寸960x720
硬质合金钻头的结构
图片尺寸532x586
34crmo4合金结构钢_宁波亿威_附带材质保证书 质量保证
图片尺寸359x303
铝合金结构一体化的屋面体系及其施工方法与流程
图片尺寸443x304
汽车轻量化碰撞安全材料:不一样的钛合金点阵结构!
图片尺寸620x227
二元合金的相结构与相图方案
图片尺寸920x518
第一节 合金结构钢
图片尺寸1080x810
轴流式止回阀哈氏合金
图片尺寸550x550
图为西安铂力特增材技术股份有限公司3d打印的"铝合金点阵结构"展品.
图片尺寸601x400
铝合金端盖压铸模设计_就上ug网
图片尺寸624x662
铁碳合金的结构及其相图.ppt
图片尺寸1080x810
第七章 合金钢 分类及编号 合金元素在钢中的作用 合金结构钢
图片尺寸1080x810
铁碳合金状态图ppt
图片尺寸1080x810
供应钢管-20#材质 合金结构管 合金结构无缝管 等材质齐全
图片尺寸550x413