合闸掣子

实现的,在下面的图片中就为大家展示了开关位于合闸位置时的机构图
图片尺寸560x451
一种断路器合闸掣子-爱企查
图片尺寸358x623
合闸: 接通合闸电磁铁电源或用手按压合闸电磁铁,合闸掣子解脱合闸
图片尺寸1282x781
一种高压开关用合闸掣子的制作方法
图片尺寸398x443
摆轮能将掣子提起很短的时间,释放擒纵轮.
图片尺寸600x429
一种弹簧操动机构用合闸锁定掣子装置的制作方法
图片尺寸1000x837
精确的止回掣子结构,克服螺栓扭转回弹导致工具逆转现象 360°&
图片尺寸750x750
液压扳手klcd规格中空型液压扳手电动液压扭矩扳手
图片尺寸750x750
20007 e2.2.e6.
图片尺寸790x660
分闸脱扣电磁铁或过流脱扣电磁铁动作,使分闸半轴对合闸保持掣子的
图片尺寸853x640
1 手动机构动作原理 合闸操作:先拉动储能手柄进行储能,所施操作力矩
图片尺寸1000x750
vs1型真空断路器维护检修手册(介绍元件)
图片尺寸915x770
顺杰电力正常销售高压真空断路器zn63vs11263025
图片尺寸1000x750
正泰电动操作机构接线图
图片尺寸295x293
一切尽在掌握2307072306
图片尺寸1080x1080
cn203729864u_转盘双向锁定掣子装置有效
图片尺寸946x1000
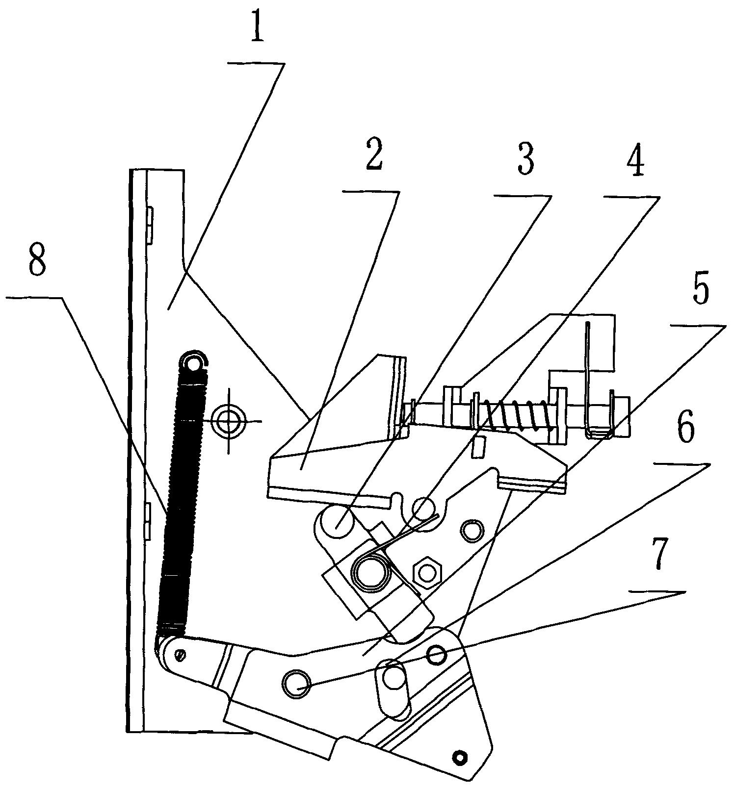
转动的分闸杠杆,分闸杠杆的下端设和分闸杠杆接触的可转动的先导掣子
图片尺寸1498x1611
j媓
图片尺寸731x637
1 储能 机构储能如图3所示,图3(a)为合闸弹簧末储能状态,图3(b)为合闸
图片尺寸580x920
间隙保护装置新思达220kv间隙保护装置
图片尺寸700x525