吊具屋面固定装置

二,吊具屋面固定装置是指设置在屋面,用来固定悬挂绳和安吊绳的装置.
图片尺寸250x250
空调外机安装吊装神器高空安装工具外机支架吊架升降吊
图片尺寸800x1066
万能夹吊具,自动夹紧,自动松开,不管是方的圆的,长的短的,都可以轻松
图片尺寸540x337
标准款玻璃吸吊机 真空吸盘吊具强力提升装置
图片尺寸640x907
座板式单人吊具作业_腾讯视频
图片尺寸1280x720
龙门钩吊具 钢包吊具性能特点
图片尺寸500x500
「图说高坪」南充国际会展中心"大吨位"钢结构屋顶吊装如火如荼
图片尺寸4414x2935
吊具,包括横梁,横梁的两端部分别设置有连接轴固定有下垂的钢丝绳上端
图片尺寸319x258
吊具,包括拉杆,所述拉杆顶部设有一吊环,拉杆底部固定有自动弹出装置
图片尺寸552x480
吊具
图片尺寸2048x1536
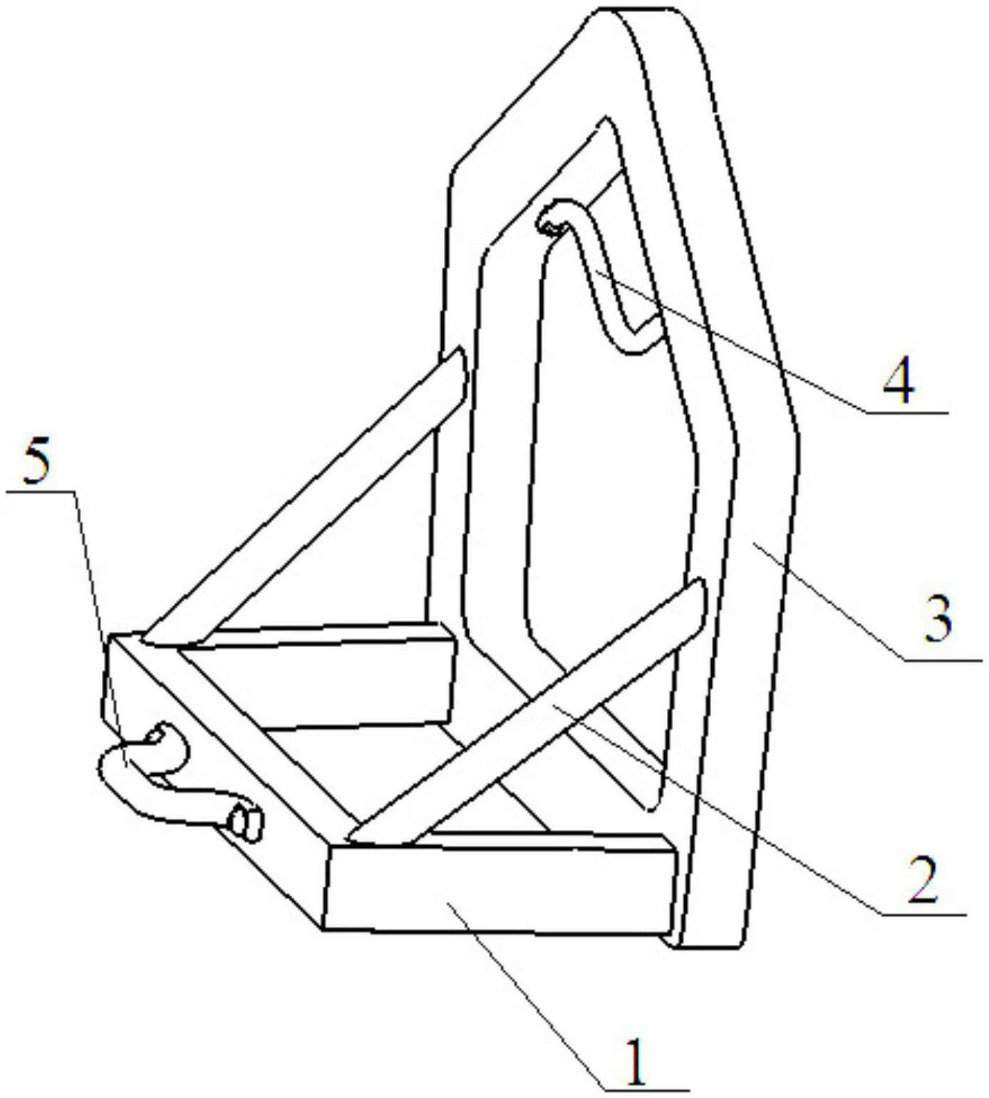
吊具环为框架结构,吊具环的底端面为水平面,吊具环的底部固定在底座的
图片尺寸1388x1541
圆钢吊夹具,圆钢吊钳,圆钢巴南夹钳圆钢吊具:机械制造过程中用来固定
图片尺寸488x404
图摘要本发明涉及钢板桩吊运装置,尤其涉及一种高空自卸式钢板桩吊具
图片尺寸1843x1453
专业制造钢坯吊具钢坯专用夹钳板坯夹具钢坯夹钳夹具夹钳
图片尺寸1024x768
于吊运长条状物品的吊具,具有c字形的钩子设计,能够稳固地固定物品,并
图片尺寸1080x908
吊具
图片尺寸493x395
钢板卡子吊具固定方型钢板吊钳吊装钩夹子l型铁板钩吊具模锻翻转
图片尺寸800x800
哪些吊具可以吊装钢卷,线圈?_装置_安全系数_检测
图片尺寸600x260
钢板_无锡力支真空吸盘吊具有限公司
图片尺寸4608x3456
防摇摆吊具施工
图片尺寸896x1920