吊床怎么画

画吊床的插图照片
图片尺寸333x300
吊床简笔画小女孩
图片尺寸390x506
吊床上的男人
图片尺寸1200x628
吊床,向量,在白色背景上的吊床上
图片尺寸1023x552
吊床简笔画怎么画
图片尺寸500x445
吊床_全景网
图片尺寸670x429
怎么画吊床
图片尺寸486x363
一种休闲吊床-爱企查
图片尺寸1874x1387
沙滩吊床图片-沙滩吊床素材-沙滩吊床插画-摄图新视界
图片尺寸450x300
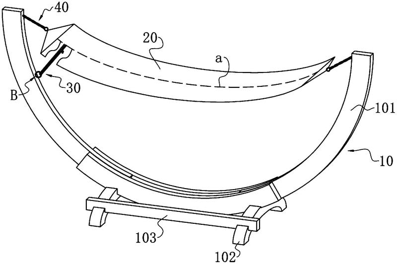
一种吊床的制作方法
图片尺寸946x897
名称:吊床图标集
图片尺寸1024x1024
吊床-爱企查
图片尺寸744x776
懒洋洋地躺在吊床上的人照片
图片尺寸291x300
睡在吊床上的简笔画
图片尺寸558x358
吊床图标,等距三维风格
图片尺寸252x252
户外吊床相关检索
图片尺寸772x649
一种吊床-爱企查
图片尺寸800x532
吊床简笔画图片
图片尺寸508x350
吊床的简笔画步骤
图片尺寸330x330
吊床矢量设计插图孤立的白色背景
图片尺寸1100x1100