吊机结构图

cn201850080u_一种全角吊机有效
图片尺寸1789x2123
可定制移动立柱式悬臂吊 电动360度旋转小型悬臂吊起重机
图片尺寸726x537
特别是一种层间吊机,包括水平设置的固定臂架;移动臂架,为刚性结构件
图片尺寸2642x1532
昆山柯恩2021新品手动悬臂起重机 灵活顺畅可定制手动旋转悬臂吊
图片尺寸790x820
悬臂吊电动旋转立柱式独臂吊小型摇臂吊升降机手动单臂
图片尺寸790x1692
单臂吊机 电动旋转悬臂吊起重机立柱式独臂吊500kg1
图片尺寸750x763
kbk起重机的优势
图片尺寸1993x1261
cn111819149a_起重机
图片尺寸1714x2567
室内吊机运机家用装修吊料吊沙上料小型68462门吊电动升窗降机机
图片尺寸750x750
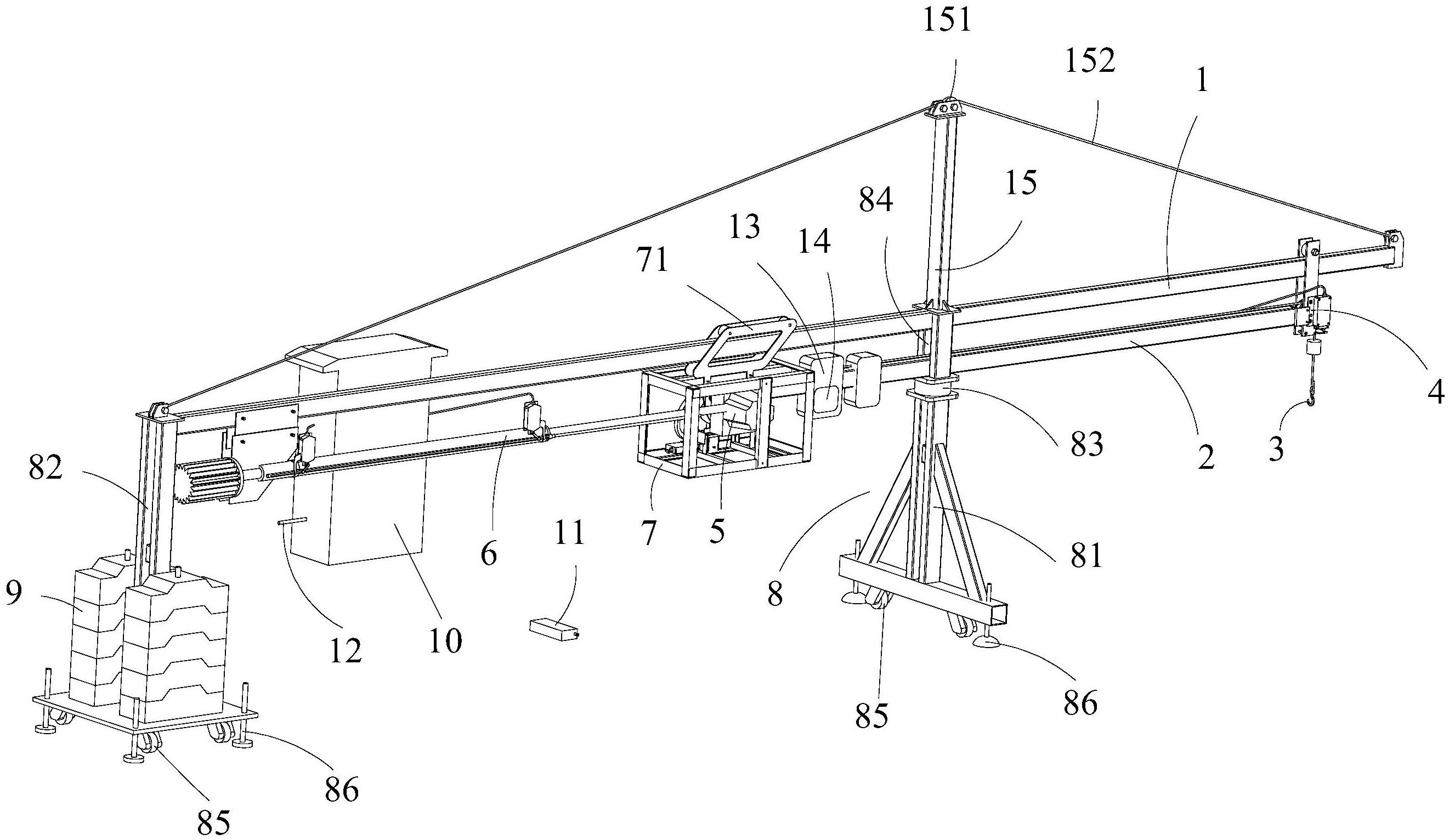
cn102131728a_起重机结构有效
图片尺寸2984x1737
摘要附图摘要本实用新型公开了一种折叠吊机,其技术
图片尺寸1878x1656
悬臂吊机总图
图片尺寸673x497
3-3 臂架类起重机ppt
图片尺寸1080x810
一种吸吊机安装结构的制作方法
图片尺寸972x1000
云南50吨履带吊租赁价格
图片尺寸1080x810
cn208279193u_一种装修用吊机有效
图片尺寸1404x1519
吊杆采用钢和钢结构焊接而成,吊杆应具有较高的强度和刚度,由于采用大
图片尺寸1000x723
集装箱正面吊运机1ppt
图片尺寸1080x810
工厂价 小型悬臂吊立柱式旋臂吊 移动式悬臂吊 厂家批发机械设备
图片尺寸938x676
cn208308341u_吊机有效
图片尺寸1628x2331