吊篮上岗证

一千个日与夜——横琴口岸建设背后的故事
图片尺寸603x1008
记者调查游乐设施安全半敞开吊篮没有安全带
图片尺寸500x333
吊篮事故触目惊心!如何验收万无一失?
图片尺寸1080x810
高处作业吊篮操作工
图片尺寸481x320
高处作业吊篮安全锁测试台
图片尺寸484x542
工地招吊篮安装工_工作_高空作业_进行
图片尺寸667x500
2024年安全管理人员应做到"三懂"
图片尺寸720x1040
对施工现场的吊篮,脚手架,临时用电,高空作业人员持证上岗,交叉作业
图片尺寸1080x789
智能吊篮
图片尺寸1000x488
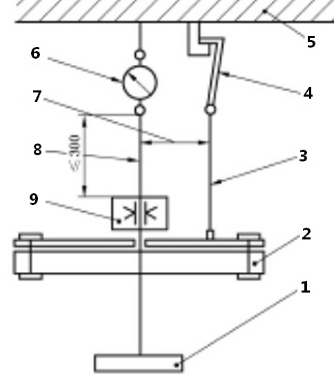
中华人民共和国国家标准:高处作业吊篮
图片尺寸248x346
医院送来两"血人" 吊篮断根带两人惨丧命(图)
图片尺寸550x412
山东省住建厅高处作业吊篮安装拆卸工怎么报考
图片尺寸1280x1184
铲除外墙上的保温砂浆多幢楼都有工人在吊篮中施工坊记在小区内看到
图片尺寸507x285
市住建局开展建筑起重机械设备安全专项检查
图片尺寸950x642
高楼外墙清洗
图片尺寸560x373
高处作业吊篮操作工安全技术和安全管理应用教程
图片尺寸481x320
督促施工企业逐项目,逐设备开展爬架吊篮安全专项自查自纠,并开展抽查
图片尺寸1159x567
地方动态 | 织牢安全一张网 利川确保全市特种设备安全运行工作纪实
图片尺寸1080x720
武汉高处作业吊篮安装拆卸工
图片尺寸500x300
高楼外墙清洗
图片尺寸564x376