吊篮支架示意图

施工吊篮万向支撑支架-爱企查
图片尺寸405x385
电动施工吊篮安全专项施工方案
图片尺寸640x351
一种吊篮骑墙可调节悬挂支架的制作方法
图片尺寸302x444
一种防雨吊篮-爱企查
图片尺寸2270x2471
吊篮各种安装方案显示.#专业的事交给专业的人 - 抖音
图片尺寸640x476
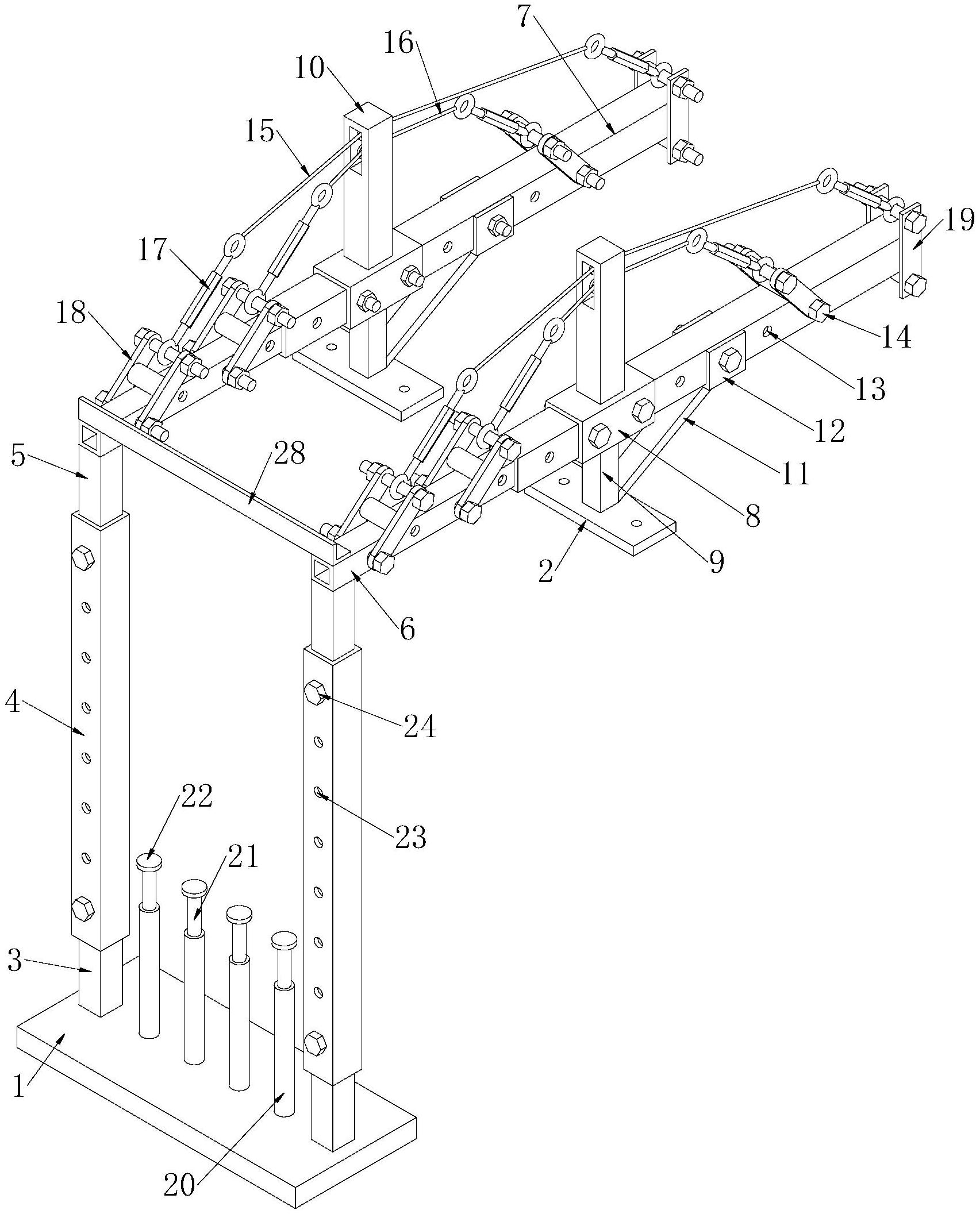
摘要附图摘要本实用新型属于一种吊篮支撑架,主要由下支架,固定横梁和
图片尺寸1977x1365
国企高处吊篮施工安全专项施工方案模板2021
图片尺寸760x653
一种建筑吊篮用支架的制作方法
图片尺寸382x463
一种不等高圈梁卡箍式吊篮支座-爱企查
图片尺寸619x800
作业吊篮 - 优质问答专区
图片尺寸640x423
吊篮支架及安装方法与流程
图片尺寸443x259
高处作业吊篮安全知识培训
图片尺寸1920x1440
(5)施工吊篮后支架横撑安装施工吊篮支架安装完成后,利用钢管脚手架及
图片尺寸594x216
一种非标结构的吊篮支架的制作方法
图片尺寸444x357
吊篮- 优质图片专区
图片尺寸1080x1040
电动施工吊篮安全专项施工方案
图片尺寸640x491
120米新型电动吊篮
图片尺寸800x594
高处作业吊篮安全管理标准及案例分析(ppt)
图片尺寸698x507
一种可纵向伸缩和横向移动的悬挑吊篮支架及工作方法与流程
图片尺寸1559x1396
一种超高女儿墙吊篮用固定架
图片尺寸1705x2113