吊篮椅简笔画

吊篮坐椅的简笔画
图片尺寸500x444
cn213046162u_一种带有脚托的吊篮椅
图片尺寸1795x2322
一种具有背部按摩功能的吊篮椅
图片尺寸1896x2645
拆装户外吊篮
图片尺寸1200x1508
一种绿色建筑外墙装修用吊篮的制作方法
图片尺寸389x443
吊椅雕刻矢量插画
图片尺寸329x330
吊篮坐椅的简笔画
图片尺寸500x618
吊椅摇篮椅吊篮藤椅网红吊床室内家用懒人摇椅阳台吊兰子户外秋千
图片尺寸3024x4032
吊篮真藤新款粗藤白色pe环保藤椅室内阳台秋千吊床双人吊椅挂椅
图片尺寸1280x1300
source 石窟吊篮金属丝花盆架花园金属丝吊篮 on m.alibaba.com
图片尺寸1000x1000
超级仙气的吊篮椅
图片尺寸1014x1352
笛央轻奢简约吊篮藤椅懒人椅摇椅阳台秋千摇篮椅庭院双人吊椅室内吊床
图片尺寸900x1200
吊篮简笔画
图片尺寸385x424
是多么美好的画面❗️作为休闲放松区域少不了一套吊篮椅🉑在
图片尺寸750x1000
一种不等高圈梁卡箍式吊篮支座-爱企查
图片尺寸619x800
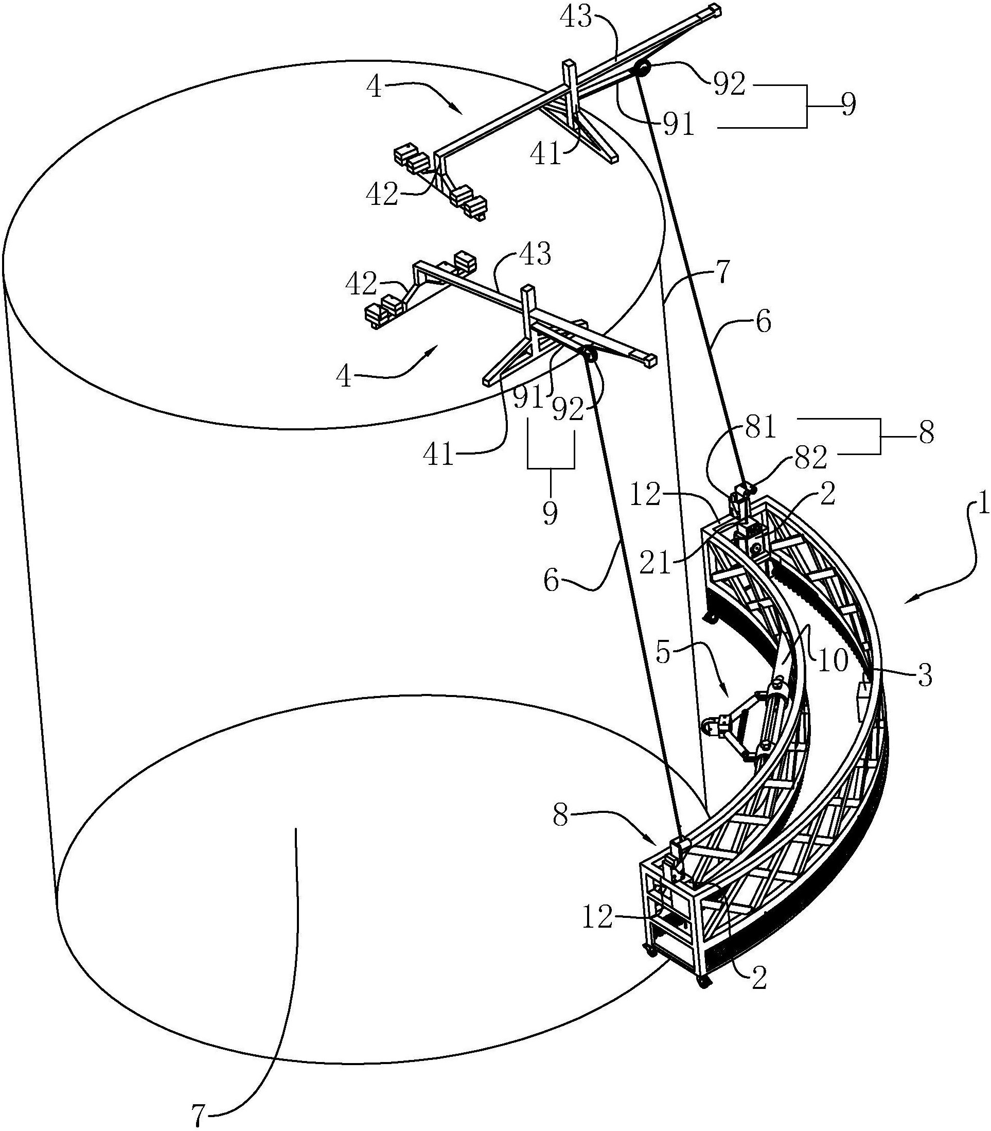
圆弧形吊篮以及用圆弧形吊篮拼接而成的圆环形吊篮
图片尺寸1926x2197
吊篮简笔画
图片尺寸800x450
source 石窟吊篮金属丝花盆架花园金属丝吊篮 on m.alibaba.com
图片尺寸1000x1000
新款网红粗藤吊篮室内户外摇椅秋千藤椅单人双人吊椅摇篮椅仿藤椅
图片尺寸990x1267
时尚吊兰简笔画简单好看的花篮简笔画图片怎么画吊篮的简笔画花篮的简
图片尺寸800x480