吊葫芦原理图

电动葫芦的电气控制线路,一起来学习
图片尺寸640x394
cn101348217a_一种单相微特电动葫芦失效
图片尺寸1780x1977
电葫芦吊机电路图
图片尺寸720x540
新款群吊电动葫芦解析图
图片尺寸660x801
链条环链吊葫芦的简单介绍
图片尺寸800x800
电动葫芦控制二次回路实物接线图原理图
图片尺寸1500x775
链条环链吊葫芦的简单介绍
图片尺寸358x215
一种电动葫芦门式起重机吊装装置-爱企查
图片尺寸800x572
电动葫芦电气原理图
图片尺寸1517x1137
谁给我提供一张电动葫芦的电气原理图!
图片尺寸2480x3509
洁净室环链电动葫芦在单梁起重机上的应用
图片尺寸800x700
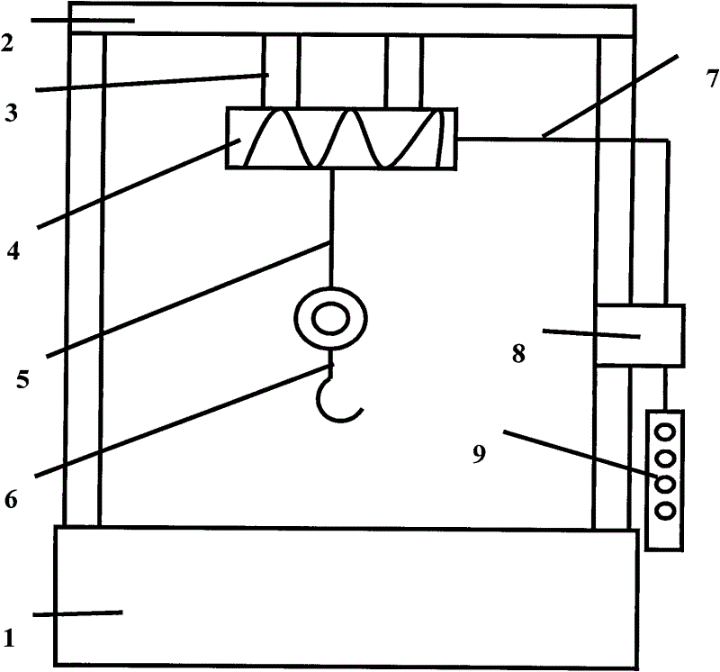
电动吊葫芦电路图
图片尺寸1080x810
电动葫芦如何正确接线
图片尺寸572x653![[分享]起重葫芦(起重滑车)资料下载](https://i.ecywang.com/upload/1/img2.baidu.com/it/u=1575721379,3653253239&fm=253&fmt=auto&app=138&f=JPEG?w=500&h=385)
[分享]起重葫芦(起重滑车)资料下载
图片尺寸715x550
一种单梁用并联式电动葫芦-爱企查
图片尺寸523x503
电动葫芦电气原理图
图片尺寸1517x1127
32吨电动葫芦双梁起重机参数lh型32吨葫芦双桥式起重机尺寸
图片尺寸1024x768
链条环链吊葫芦的简单介绍
图片尺寸692x288
环链电动葫芦旋臂吊能安装kbk轨道吗
图片尺寸660x564
一种电动吊葫芦
图片尺寸800x746