吊装旋转法

扳转法吊装
图片尺寸565x284
2011年造价工程师土建复习资料混凝土结构吊装
图片尺寸349x201
吊装旋转机架
图片尺寸1200x728
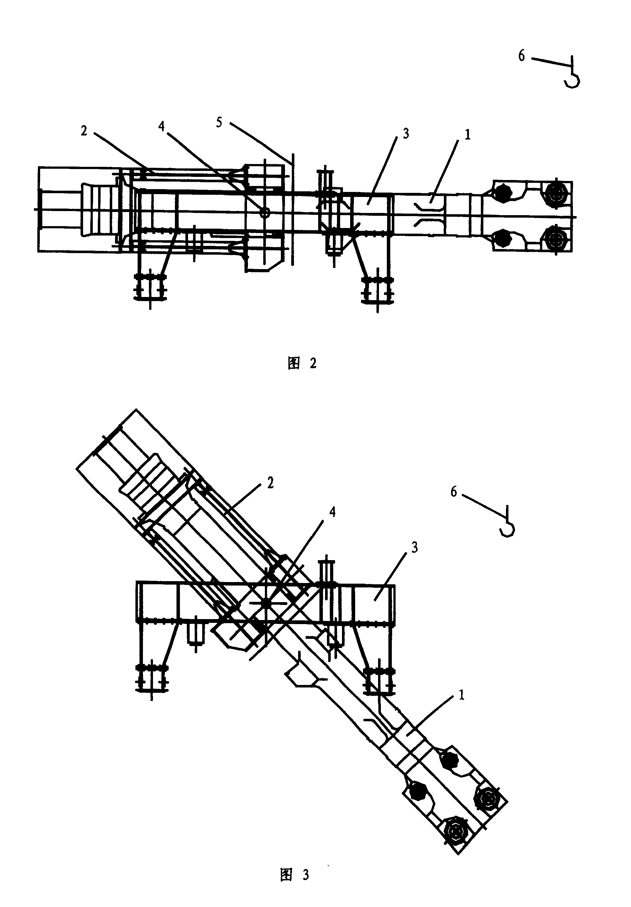
一种采用旋转平衡法吊装特大型设备的工艺方法
图片尺寸2013x2892
单机旋转吊装法施工动画演示
图片尺寸600x450
工业厂房建筑柱的吊装怎么做?
图片尺寸466x228
钢柱旋转吊装图
图片尺寸542x370
14 6 1 3 音乐 举报 发布时间: 2023-07-07 15:36 专业吊装 .
图片尺寸1080x1440
03 滑行法起吊柱子 上一条:钢筋混凝土竹子的吊装之旋转法
图片尺寸500x484
超重钢柱铰轴旋转法吊装工法_第3页
图片尺寸1991x2818
柱的吊升 旋转法:柱脚尽量靠 近基础;三点共弧: 柱基中心,柱脚中心
图片尺寸1080x810
宜兴机器吊装物件起吊过程中,切勿站在吊物下方或旋转半径内.灵活性强
图片尺寸720x1000
2 构件吊装工艺 ① 旋转法 柱布置时柱脚靠近杯口,柱的绑扎点,柱脚与
图片尺寸1170x810
设备租赁_供应商机_云盟在线
图片尺寸500x500
武汉协和质子医学中心质子核心部件吊装
图片尺寸506x900
昆山巴城机器吊装物件起吊过程中,切勿站在吊物下方或旋转半径内 - 抖
图片尺寸720x1000
10 全部评论 大家都在搜: 李明吊装 粉丝 5247 获赞 9713 关注 旋转
图片尺寸780x1040
一种采用旋转平衡法吊装特大型设备的工艺方法
图片尺寸2013x2892
框架钢结构十大安装要点
图片尺寸469x403
一种采用旋转平衡法吊装特大型设备的工艺方法
图片尺寸2013x2892