吊装装置

106米高 6米直径 66mm壁厚整体运输,吊装吊装重量1672吨 (1).jpg
图片尺寸1840x3264
缓冲罐吊装现场
图片尺寸1080x1440
风电机组维修吊装装置_徐鸿钧
图片尺寸419x467
一种用于变电站工程施工用的安全式吊装装置的制作方法
图片尺寸987x1000
新进展→升级管理,顺利完成冷能发电装置ifv设备吊装
图片尺寸910x691
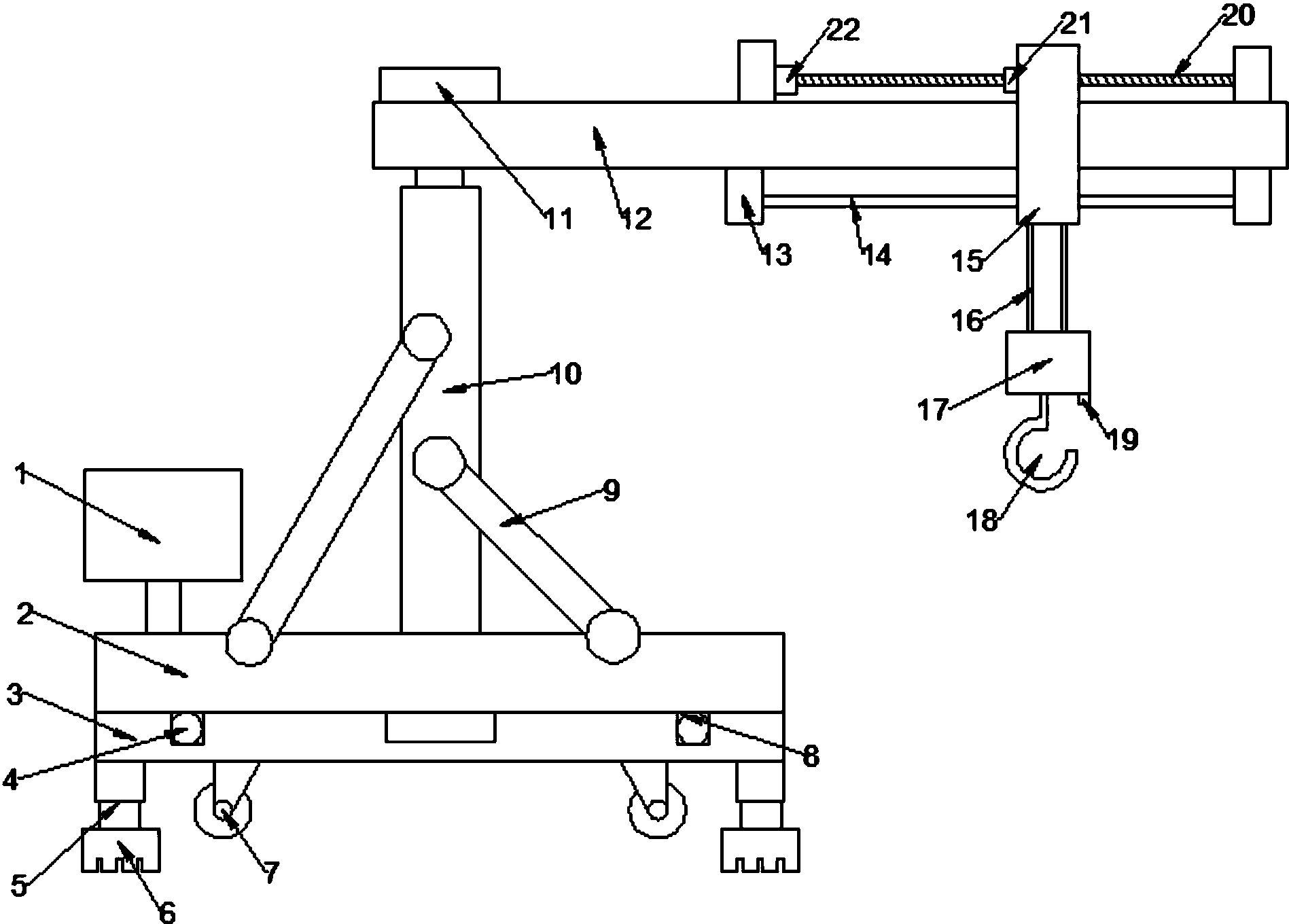
一种门座起重机象鼻梁头尾部滑轮电动吊装装置
图片尺寸1942x2100
桁架吊装装置三维模型设计
图片尺寸300x225
一种装配式建筑构件吊装装置-爱企查
图片尺寸1822x2176
四建承建海南炼化对二甲苯装置首塔顺利吊装
图片尺寸700x525
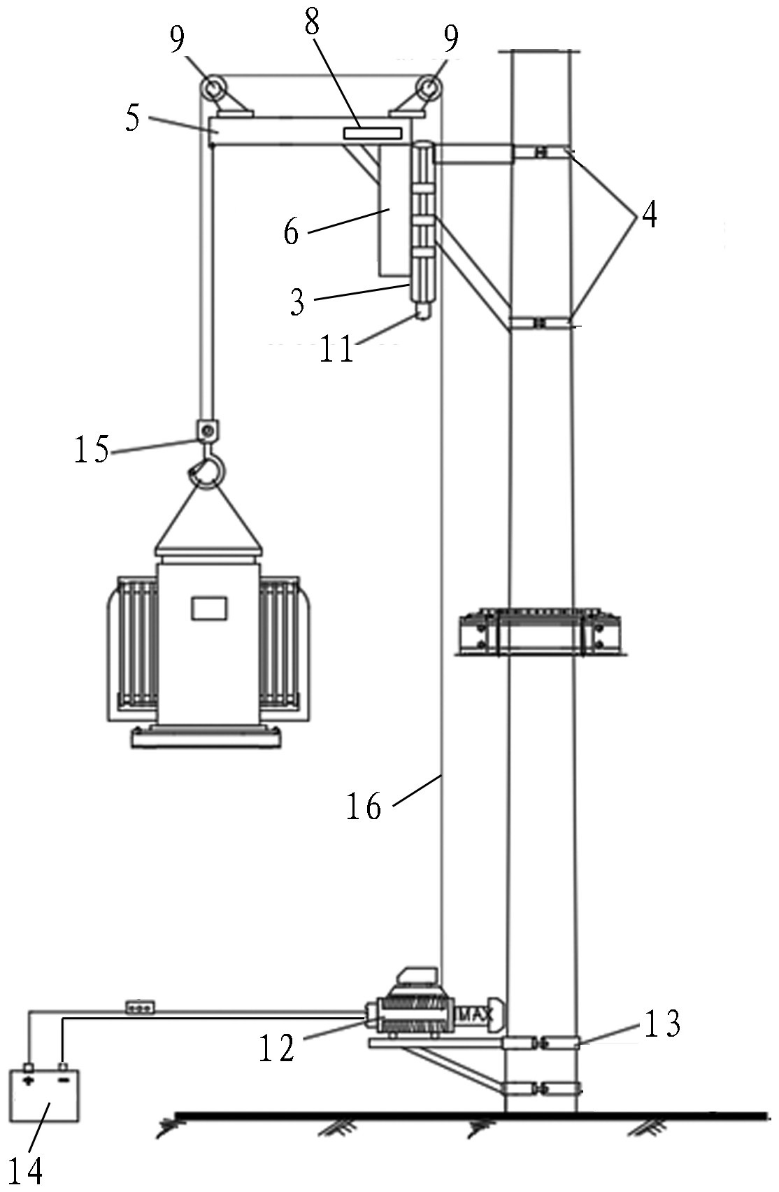
便携式户外变压器吊装装置
图片尺寸1114x1704
一种用于无砟轨道的吊装装置的制作方法
图片尺寸1654x1992
cn206427945u_一种建筑用可调吊装装置失效
图片尺寸1897x1360
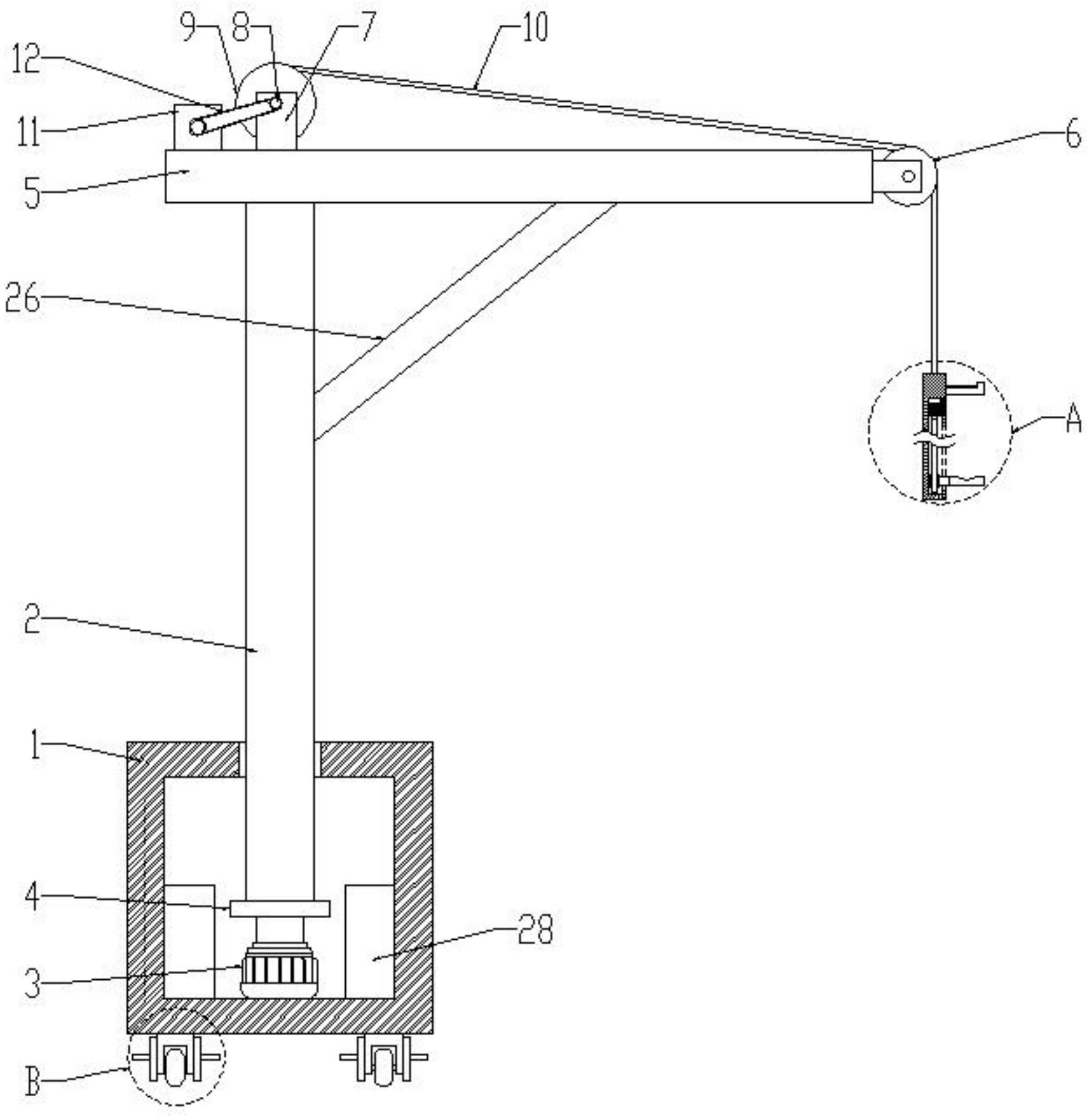
一种可移动式吊装装置的制作方法
图片尺寸400x444
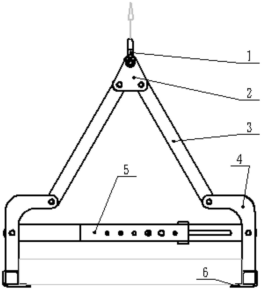
一种自紧式吊装装置-爱企查
图片尺寸1115x1235
铁路单线简支槽型梁跨铁路捆绑式吊装的装置,属于吊装装置技术领域
图片尺寸1796x2661
一种用于吊放反渗透膜壳的组合式吊装装置的制作方法
图片尺寸444x434
一种农业机械设备维修用的吊装装置的制作方法
图片尺寸405x443
吊装装置-爱企查
图片尺寸688x800
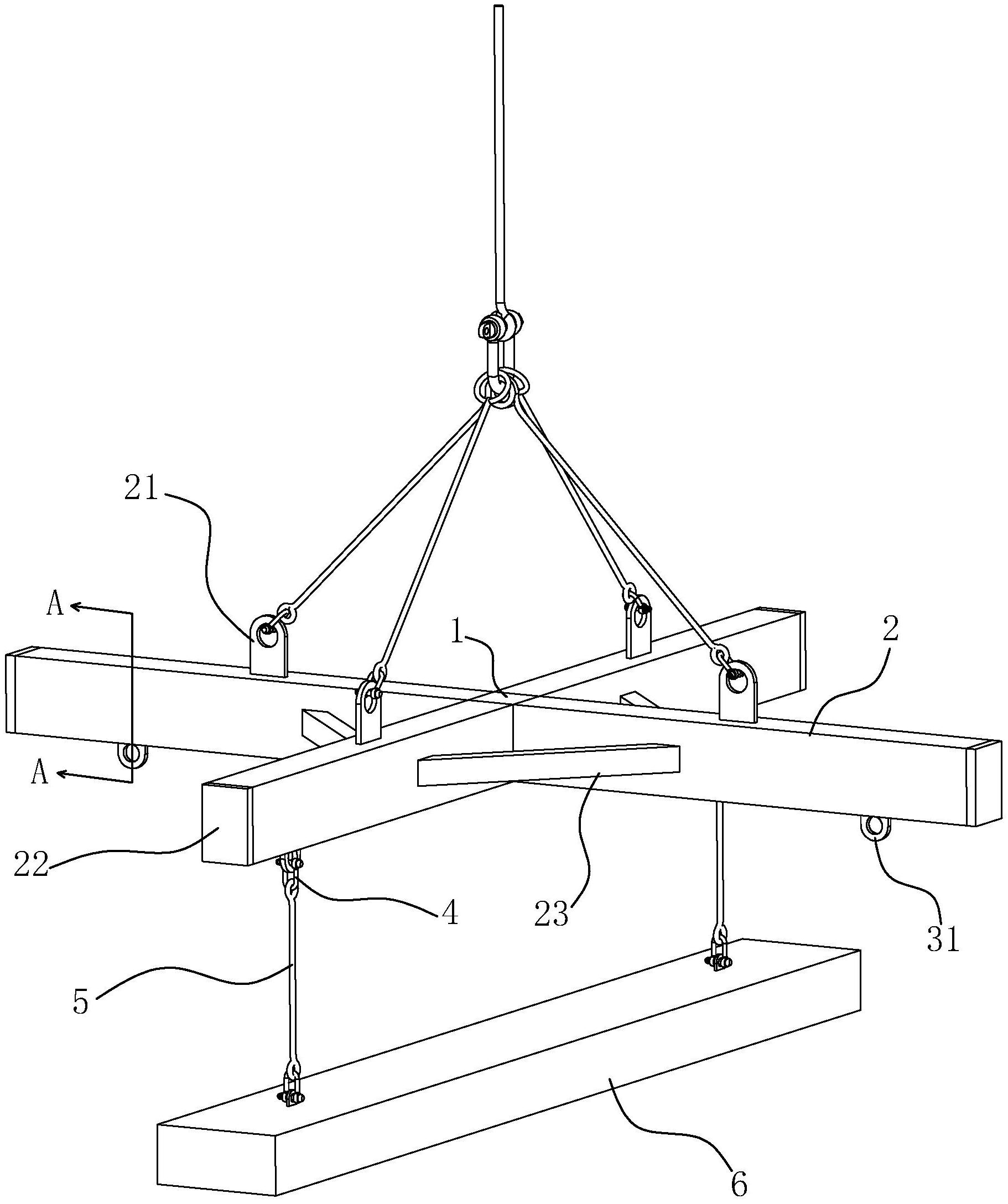
一种用于盲板法兰生产的吊装装置
图片尺寸1924x1982
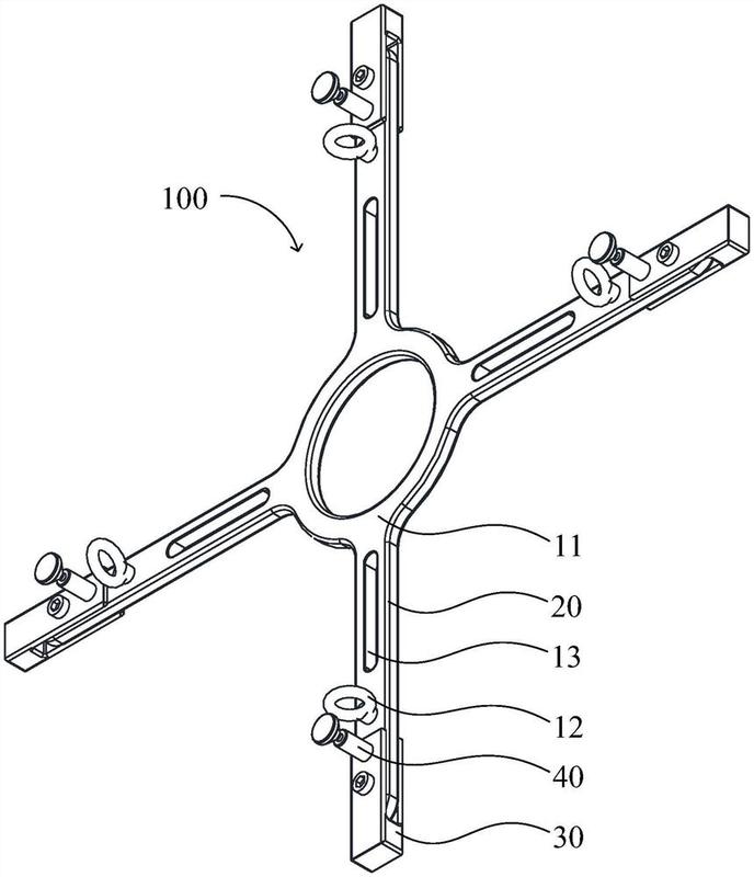
一种用于蓄电池连片极板的吊装装置的制作方法
图片尺寸363x443