吊趟门配件图解

jdt90系列吊趟门结构图2
图片尺寸2516x3438
卫生间门轮木门移门静音吊轮吊滑轮轨道推拉门吊轮吊轨厨房滑轮
图片尺寸750x946
三门联动配件木门移门玻璃门不锈钢门推拉门吊轮吊轨移门滑道路轨
图片尺寸790x1103
移门轨道吊轨铝合金滑道 吊滑轮轨道玻璃门吊轨木移门导轨滑道
图片尺寸743x793
暗藏式推拉门.吊轨,幽灵门,口袋门,移门.节点大样图. #全 - 抖音
图片尺寸1080x810
小号衣橱柜门吊轨展示柜推拉门导轨淋浴房玻璃轨道趟门五金配件-淘宝
图片尺寸658x551
加厚太空铝移门吊轨 实木门玻璃门折叠推拉门滑轨吊轮滑轮轨道
图片尺寸990x1165
木移门折叠门配件滑轮万向旋转吊轮推拉门轨道吊滑轨吊门滑轮
图片尺寸750x527
静音吊轮推拉移门静音滑轮趟门轮加厚铝合金移门吊轨道滑轨吊门轮
图片尺寸800x1152
坚派五金 吊趟门门配件
图片尺寸600x798
移门三剑客:推拉门,吊趟门,巴士门,谁最土,谁最豪?
图片尺寸640x928
吊轨门安装步骤图
图片尺寸854x443
慧聪移门吊轮dpm005静音推拉门专用滑轮
图片尺寸750x797
移门轨道吊轨推拉门吊滑静音实木门卫生间玻璃门折叠吊门滑轮配件
图片尺寸750x991
画宇折叠门配件五金推拉门轨道吊轮移门滑轮旋转吊轨滑轮hy-328
图片尺寸800x800
二联动移门吊轮 移门推拉门轨道滑轮吊轮联动门轮滑吊轮吊轨滑道
图片尺寸790x1140
三联动移门二联动推拉门移门木门吊轨道滑轮缓冲联动门吊轮配件双开反
图片尺寸790x1090
移门轨道单滑道 玻璃门折叠推拉门滑轨古达吊滑轨轮吊趟门导轨配件
图片尺寸750x1228
批发衣柜吊挂趟门配件e003 移门配件 五金配件 配件
图片尺寸729x759
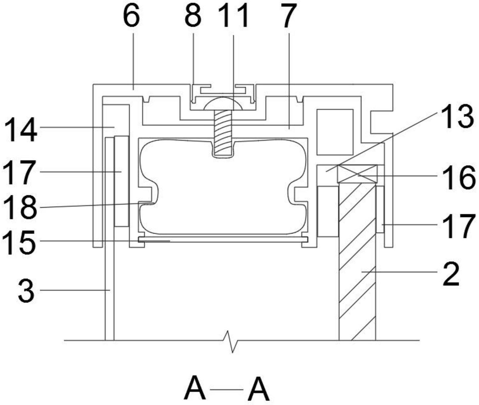
一种隔音吊趟门组件
图片尺寸1605x1356