吊车商标图片

绍兴吊车出租吊装租赁上虞吊车出租绍兴连创吊装有限公司
图片尺寸640x640
吊车出租,随车吊出租,吊车租赁,高空作业车吊装
图片尺寸640x480
8吨到200吨吊车租赁,徐州开来吊车租赁有限公司
图片尺寸304x304
起重机徽标,起重机的标志.矢量图.
图片尺寸1024x975
大吊车商标公告信息,商标公告第9类-路标网
图片尺寸959x942
吊车商标图片
图片尺寸911x987
黄色的起重机工程机械logo设计方案png图片免抠矢量素材
图片尺寸720x720
简介
图片尺寸546x664
吊车小哥_企业商标大全_商标信息查询_爱企查
图片尺寸525x525
吊车商标
图片尺寸400x250
徐工吊车五十吨新型图片.-工程机械平台-铁臂商城
图片尺寸550x413
徐工吊车车贴配件25k500k100k1标识工程车起重机汽车装饰贴
图片尺寸1080x1080
吊车帮_企业商标大全_商标信息查询_爱企查
图片尺寸372x372
笑博吊车 xiaobo
图片尺寸287x286
吊车- 商标 - 爱企查
图片尺寸487x409
昱嘉起重机;yuga lifting_注册号6893164_商标注册查询 - 天眼查
图片尺寸945x1017
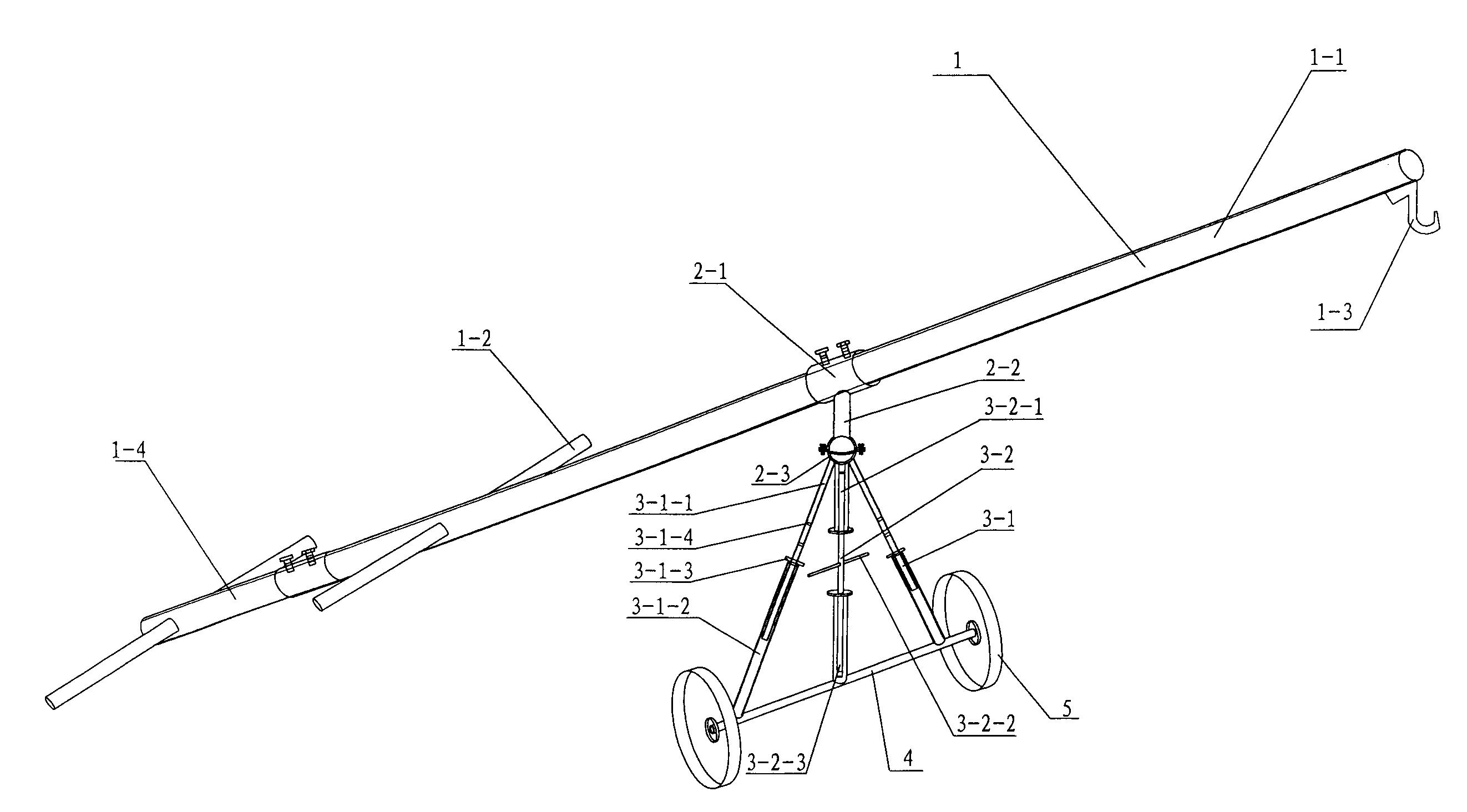
轻型移动式吊车-爱企查
图片尺寸2644x1464
中国重汽 4x2 5 吨伸缩吊臂小型卡车起重机
图片尺寸600x600
简阳吊车租凭出租_吊车出租_企业博客
图片尺寸1024x1024
三轮吊车-爱企查
图片尺寸879x475