吊车大钩穿绳教程

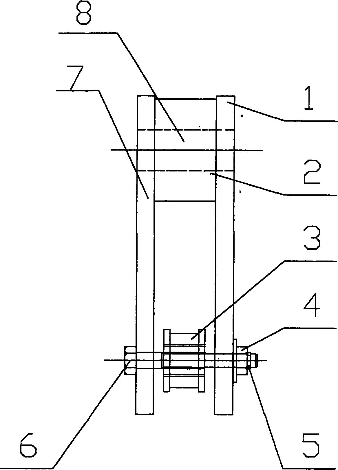
徐工吊车25吨吊钩
图片尺寸300x300
12吨吊车钢丝绳多少钱一米
图片尺寸700x933
钢丝绳电动葫芦吊钩头行车起重天车下钩10235t吨吨低净空吊车 1吨防爆
图片尺寸763x665
原来吊车的钩子是这样操作的,那为何他不加长绳子呢
图片尺寸750x422
巨型吊车操作过程,一个钩子比我的越野车还要大,真厉害
图片尺寸720x1280
装有4个滑轮,有钢丝绳尾端固定安装耳,带可转动吊钩及防脱钩装置,副
图片尺寸556x375
新款安全钩,大小型号齐全#全国发货欢迎合作 #吊车 #起重吊 - 抖音
图片尺寸1296x1920
吊车大钩保护装置-爱企查
图片尺寸1167x1620
行车低净空吊钩电动葫芦钢丝绳1235t吨挂钩下钩头起重机行吊车3吨 10
图片尺寸800x1100
钢丝绳电动葫芦吊钩下钩起重滑轮天车吊车行车配件1/2/3/5吨 普通吊钩
图片尺寸790x875
吊车配件之家的优惠券大全—中联吊车吊臂滑轮挡绳杆杆头滑轮杆子ztc
图片尺寸1440x1080
钢丝绳电动葫芦吊钩吊机吊勾下钩起重滑轮吊车行车配件1/2/3/5吨 国标
图片尺寸790x875
吊车钢丝绳的养护和更换标准
图片尺寸641x401
五千的吊车,这个腹带和钩子,堪比一座城堡
图片尺寸1080x1429
插编起重吊索具行吊车模具大开口一环多腿可选带钩 双腿5吨1米(绳粗
图片尺寸750x562
行车低净空吊钩电动葫芦钢丝绳1235t吨挂钩下钩头起重机行吊车3吨1吨
图片尺寸350x350
对汽车吊吊钩及钢丝绳检查
图片尺寸1440x1080
沐鑫泰徐工中联三一吊车大钩总成8吨12吨16吨20吨25吨主勾吊车配件
图片尺寸800x800
出售徐工三一中联各种吨位吊车小钩大钩锚钩.#吊车军团 #中联 - 抖音
图片尺寸1440x1920
行车低净空吊钩电动葫芦钢丝绳1235t吨挂钩下钩头起重机行吊车3吨 10
图片尺寸800x1200