吊钩图片平面图

autocad 基础教程:绘制吊钩
图片尺寸512x589
cad绘制吊钩,非常简单,你还不会吗?
图片尺寸448x652
cad画吊钩
图片尺寸442x503
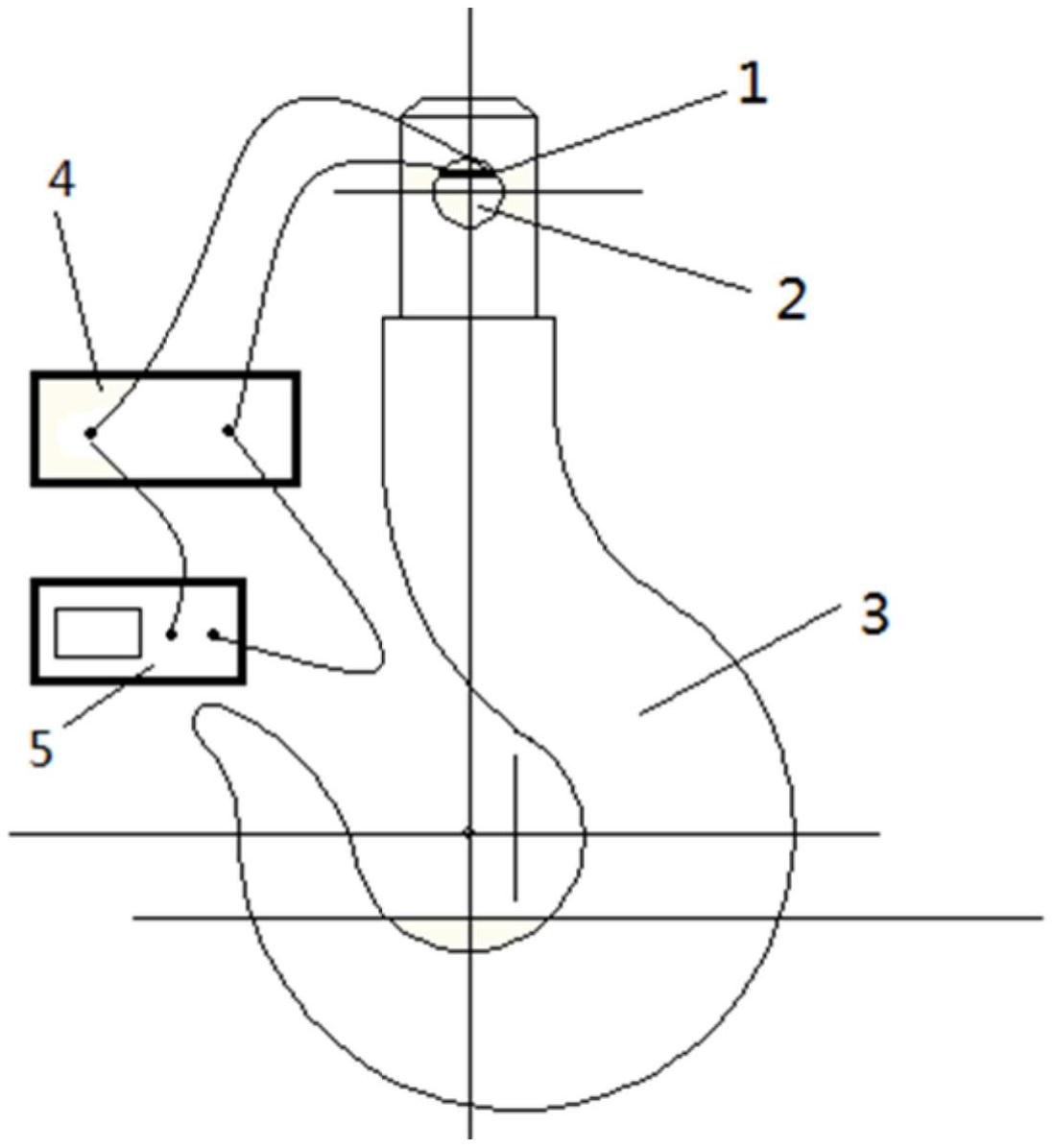
一种电动起重机挂钩
图片尺寸2009x2201
dd-b三木钢板吊钩,日本三木netsuren
图片尺寸533x428
吊钩
图片尺寸313x426
一种带倒挂的吊钩cad图纸
图片尺寸772x1030
机械制图里的吊勾是怎么画的?
图片尺寸636x591
10吨封闭吊钩装配图
图片尺寸867x614
cad软件画吊钩你需要几分钟2分钟来看看更快捷的方法吧
图片尺寸658x438
a2吊钩pdf
图片尺寸800x566
起重钩图纸rar
图片尺寸2338x1653
工程图-吊钩画法
图片尺寸1944x2592
优质产品16t半封闭-韶关轧制滑轮 电动葫芦吊钩/天车吊钩
图片尺寸553x205
第6讲吊钩.ppt
图片尺寸1152x864
3dcad每周一练吊钩第四周做题得金豆
图片尺寸1055x772
一种吊钩cad图纸接头直径23
图片尺寸1059x1067
一种对货物计数的吊钩-爱企查
图片尺寸1098x1196
cad绘制吊钩,非常简单,你还不会吗?
图片尺寸640x679
机械制图画吊钩,求图!
图片尺寸600x630