吊钩cad

本期通过视频和详细实例讲解,系统向大家展示cad中"吊钩"二维平面图的
图片尺寸774x795
cad软件画吊钩你需要几分钟,2分钟?来看看更快捷的方法吧!
图片尺寸658x438
吊钩
图片尺寸558x539
本期通过视频和详细实例讲解,系统向大家展示cad中"吊钩"二维平面图的
图片尺寸738x763
机械制图一(2-3)吊钩类型4(尺规作图)_吊钩_类型
图片尺寸1620x1080
平面图练习 双头吊钩的画法 训练定位基础功能 知识点很丰富
图片尺寸1090x727
腾金鹏同学的吊钩平面图:王子豪同学的吊钩平面图:章骐同学的挂轮架
图片尺寸1080x540
autocad绘制吊钩实例
图片尺寸448x336
起重360度旋转16吨等环眼吊钩油田万向垂重钩吊环挂钩国标精品双环8t
图片尺寸750x1268
工程建设 | 吊钩防脱钩装置
图片尺寸587x428
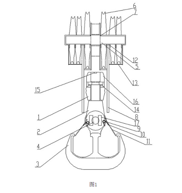
一种双吊钩组结构
图片尺寸624x661
一种双吊钩组结构
图片尺寸359x479
水平钢板起重钳的结构及使用方法介绍_吊钩
图片尺寸471x615
cad中手绘找圆心画吊钩案例讲解,外切等于两圆半径和即可
图片尺寸3840x2160
用solidworks画一个大型吊钩虽然用的是曲面建模但并不是很
图片尺寸572x420
新型高卷扬电动葫芦的设计|钢丝绳|减速器|卷扬机|吊钩|卷筒_网易订阅
图片尺寸469x636
河南上起公司起重配件做工精细,结构坚固,经久耐用_起重机_卷筒_吊钩
图片尺寸800x317
20机电班《切割体三视图》作者:王广 20机电班《吊钩机械制图》作者
图片尺寸660x316
从"傻大黑粗"到"窈窕淑女" 西部重工3d打印开启智能制造新纪元
图片尺寸700x480
在cad发明之前,我们的工作状态是啥样的
图片尺寸660x469