吊钩cad尺寸图

cad软件画吊钩你需要几分钟,2分钟?来看看更快捷的方法吧!
图片尺寸658x438
本期通过视频和详细实例讲解,系统向大家展示cad中"吊钩"二维平面图的
图片尺寸774x795
吊钩
图片尺寸558x539
本期通过视频和详细实例讲解,系统向大家展示cad中"吊钩"二维平面图的
图片尺寸738x763
机械制图一(2-3)吊钩类型4(尺规作图)_吊钩_类型
图片尺寸1620x1080
风扇钩吊扇挂钩安装勾墙壁铁吊钩吊环吊灯挂钩u型固定抓钩子丁字挂钩
图片尺寸790x731
吊钩
图片尺寸370x282
工程建设 | 吊钩防脱钩装置
图片尺寸587x428
定制定制电动葫芦吊钩起重机吊车行车天车钢丝绳低净空吊钩2吨3吨5吨
图片尺寸750x1081
腾金鹏同学的吊钩平面图:王子豪同学的吊钩平面图:章骐同学的挂轮架
图片尺寸1080x540
王伟同学的手柄平面图:王子豪同学的手柄平面图:马赛同学的吊钩平面图
图片尺寸1080x540
20机电班《切割体三视图》作者:王广 20机电班《吊钩机械制图》作者
图片尺寸660x316
平面图练习 双头吊钩的画法 训练定位基础功能 知识点很丰富
图片尺寸1090x727
autocad绘制吊钩实例
图片尺寸448x336
从"傻大黑粗"到"窈窕淑女" 西部重工3d打印开启智能制造新纪元
图片尺寸700x480
爬架施工作业安全监管要点,几张表记好啦!
图片尺寸329x612
热搜爆了,我们的作品也炫酷爆了~|周董|周奕|cad|机械_网易订阅
图片尺寸559x577
304不锈钢吊环膨胀螺丝万能挂钩环形拉爆带圈吊钩螺栓国标m6m8m10m12
图片尺寸790x1544
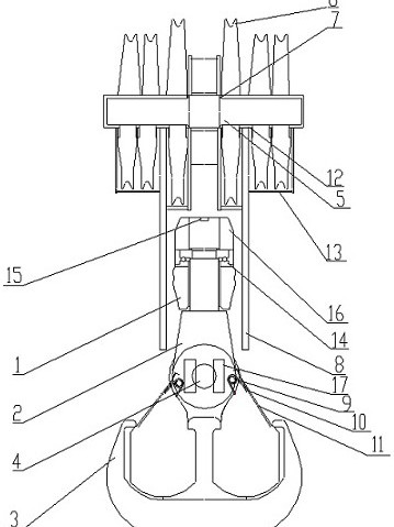
一种双吊钩组结构
图片尺寸359x479
9-3 机械设计实例讲解-挂钩.mp49-3 机械设计实例讲解-吊钩.
图片尺寸1190x1600