同平面变轨移门

同平面变轨移门pet吸塑膜
图片尺寸1200x1600
推拉门选吊轨还是地轨?换了3次,终于弄明白哪个更好了
图片尺寸640x780
预留轨道推拉门 #推拉门玻璃 门 #极简推拉门玻璃移门推拉门
图片尺寸800x800
轨道推拉门的安装
图片尺寸487x412
别等装完才后悔_威尔普斯门窗
图片尺寸640x480
家用电动平移门_移门定制_家居家装_家具
图片尺寸368x640
哪种移门轨道好用
图片尺寸779x534
联动移门单轨吊趟门极窄边框玻璃推拉门缓冲阻尼厨房门
图片尺寸800x800
什么是三轨推拉门有啥优点
图片尺寸700x466
卡罗莎移门系列吊轨门
图片尺寸400x400
平移门滑轨的制作方法
图片尺寸700x400
谷仓门滑道厨房推拉门卫生间玻璃门移门滑轨轨道吊轨五金配件全套
图片尺寸800x800
120三轨系列铝合金重型推拉门
图片尺寸1415x822
xiyath-电动巴士移门,电动塞拉门,电动暗室移门,电动平面移门
图片尺寸650x488
一种变轨展柜制造技术
图片尺寸1000x876
平面移门系统
图片尺寸400x300
多轨距轨道变轨装置的制作方法
图片尺寸1000x656
福州电动平移门手术室移门自动门感应移门 1,专利导轨变轨
图片尺寸800x800
速度提高78米秒天问一号已变轨到底是什么原因祝融号正接近低谷
图片尺寸641x361
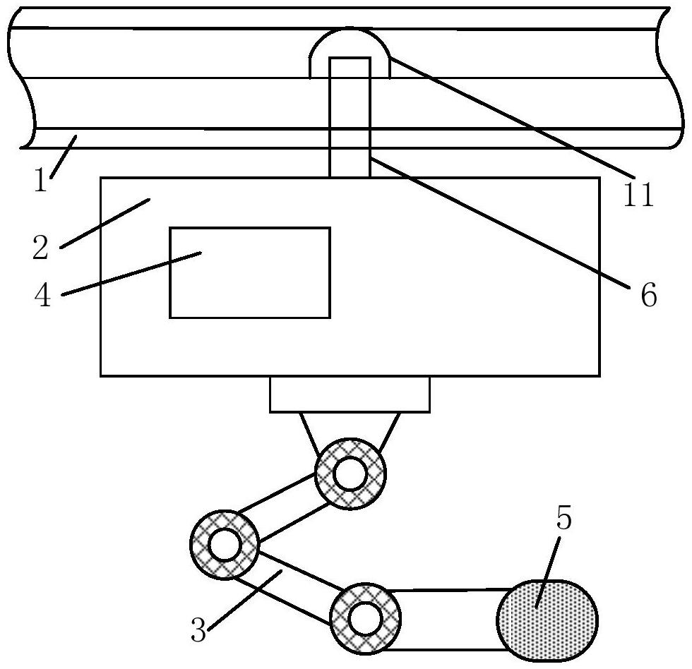
种适用于再生水厂的巡检导轨机器人,包括轨道,系统车体,机械臂,变轨盘
图片尺寸980x948