后视镜的结构

轿车外后视镜的结构功能及设计要求
图片尺寸800x713
高尔夫球车倒车镜(高尔夫倒车镜拆卸图解)
图片尺寸568x500
一种新型的汽车后视镜
图片尺寸1657x1971
后视镜产品设计结构规范
图片尺寸660x495
大亦适配1518斯柯达速派后视镜总成反光镜倒车镜外壳镜片镜框转向灯
图片尺寸2800x2800
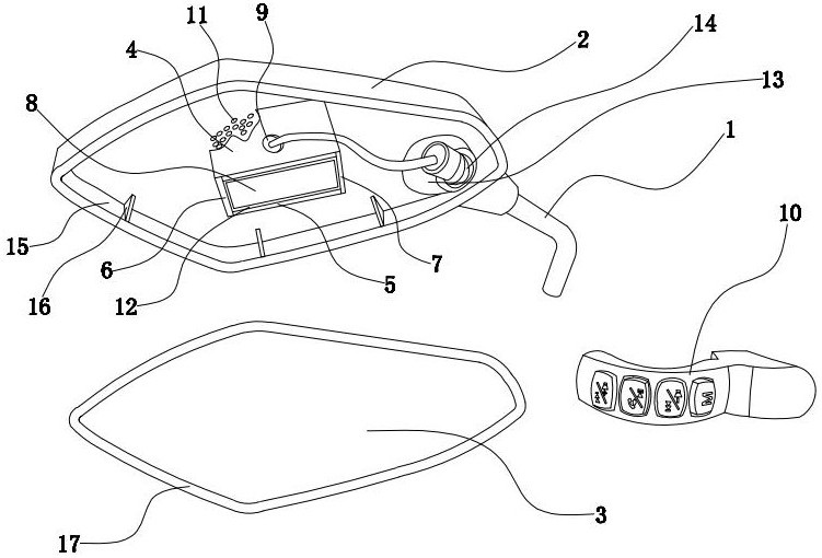
图2-120 电动后视镜的结构和控制开关示意图
图片尺寸1080x810
后视镜产品设计结构规范
图片尺寸660x495
自动防眩目后视镜结构和原理则复杂一些,主要结构包括三明治结构的电
图片尺寸903x405
汽车轿车电动可调节 外后视镜总成结构 3d三维模型 几何数模建模
图片尺寸906x959
叉车广角后视镜-爱企查
图片尺寸594x893
后视镜产品设计结构规范
图片尺寸660x495
一种外后视镜安装结构的制作方法
图片尺寸1000x819
一,电动后视镜的组成及结构 汽车电动后视镜一般由镜片,驱动电机,控
图片尺寸1080x810
它解决了现有的后视镜中结构复杂,安装麻烦,容易出现故障的问题.
图片尺寸751x510
后视镜安装结构及车辆-爱企查
图片尺寸1322x1553
适用于适配15-21别克英朗阅朗后视镜总成反光镜倒车镜镜片外壳镜框下
图片尺寸990x1268
外后视镜结构设计规范检查汇总课件
图片尺寸920x517
cn206278025u_一种新型后视镜安装结构有效
图片尺寸1678x1512
一种新型外后视镜安装结构-爱企查
图片尺寸800x789
一种虚拟后视镜安装结构及车辆-爱企查
图片尺寸1706x776