向上金服现状

向上金服不愿清退?难道是在等待为王
图片尺寸605x352
从诗和远方聊到中年危机 ——福布斯向上金服圆桌共话新兴中产
图片尺寸720x480
向上向前金服出现大量客诉,此类平台何去何从?
图片尺寸520x337
捷越旗下两家p2p借贷余额超141亿:向上金服被点名将"通报风险"
图片尺寸1112x753
捷越旗下两家p2p借贷余额超141亿:向上金服被点名将"通报风险"
图片尺寸1521x856
向上金服10安卓版
图片尺寸309x550
暗雷?向上金服出现严重逾期,无公告无兑付,招大量出借人投诉
图片尺寸947x707
向上金服累计成交额突破450亿,单月成交量接近20亿
图片尺寸640x480
向上金服:公平公正公开解决难题 向上金服面临严重的兑付危机,相关
图片尺寸2048x1363
向上金服2018开年包揽三大奖项 聚焦新兴中产持续积蓄品牌力量
图片尺寸1268x784
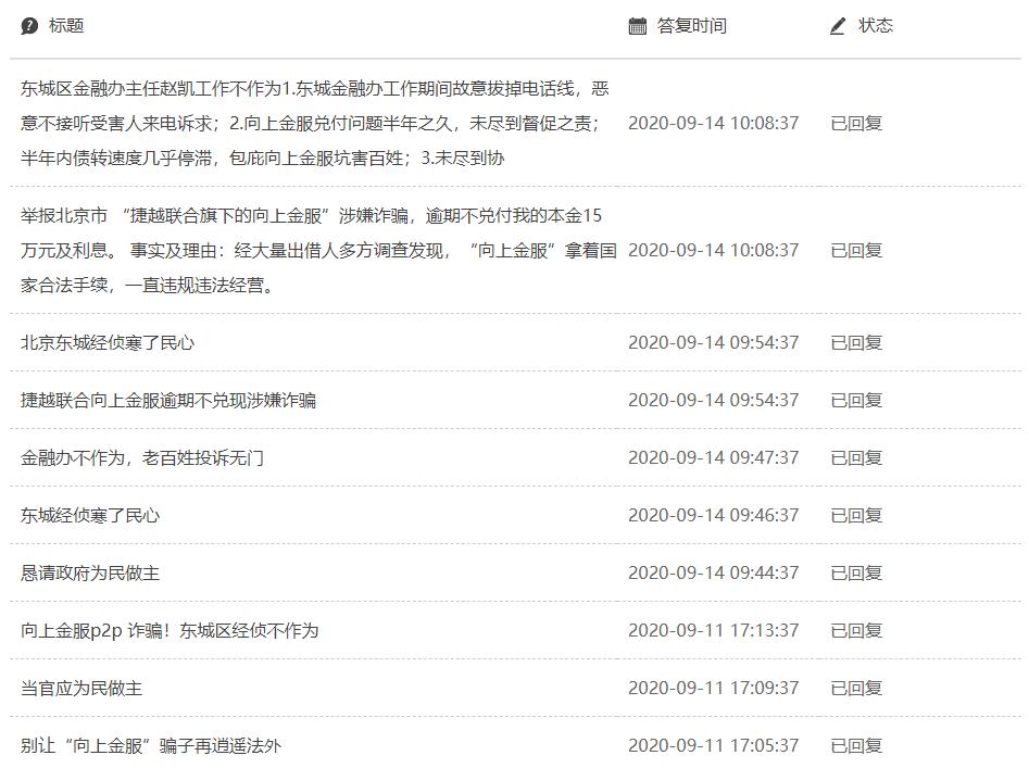
"向上金服"到期不还款
图片尺寸1242x2208
向上金服:公平公正公开解决难题 向上金服面临严重的兑付危机,相关
图片尺寸404x647
向上金服 朴素的外表下包裹着最纯净的灵魂
图片尺寸630x824
向上金服登胡润百强榜 科技金融升级引领互金行业风向
图片尺寸957x734
聊聊 向上 向前 金服 最新消息
图片尺寸508x553
(向上金服)情况:最近向上金服的投资人收到了一则《退款说明》,为加速
图片尺寸1988x1280
《2018 中国新兴中产阶层财富白皮书》发布,向上金服携手福布斯解读新
图片尺寸1400x904
向上金服袁成龙:科技让金融无边界,但金融却要有底线
图片尺寸1280x853
向上金服:公平公正公开解决难题 向上金服面临严重的兑付危机,相关
图片尺寸1200x800
《2018 中国新兴中产阶层财富白皮书》发布,向上金服携手福布斯解读新
图片尺寸1400x770