吨桶阀门安装图

包装吨桶配件塑料阀门ibc桶吨桶氟胶球阀1000l桶耐酸碱阀门 dn60球阀
图片尺寸750x1136
各种ibc吨桶球阀蝶阀1000升吨方桶阀门 防尘盖塑料吨桶阀门 吨桶球阀
图片尺寸750x750
一种吨桶阀装配结构的制作方法
图片尺寸414x304
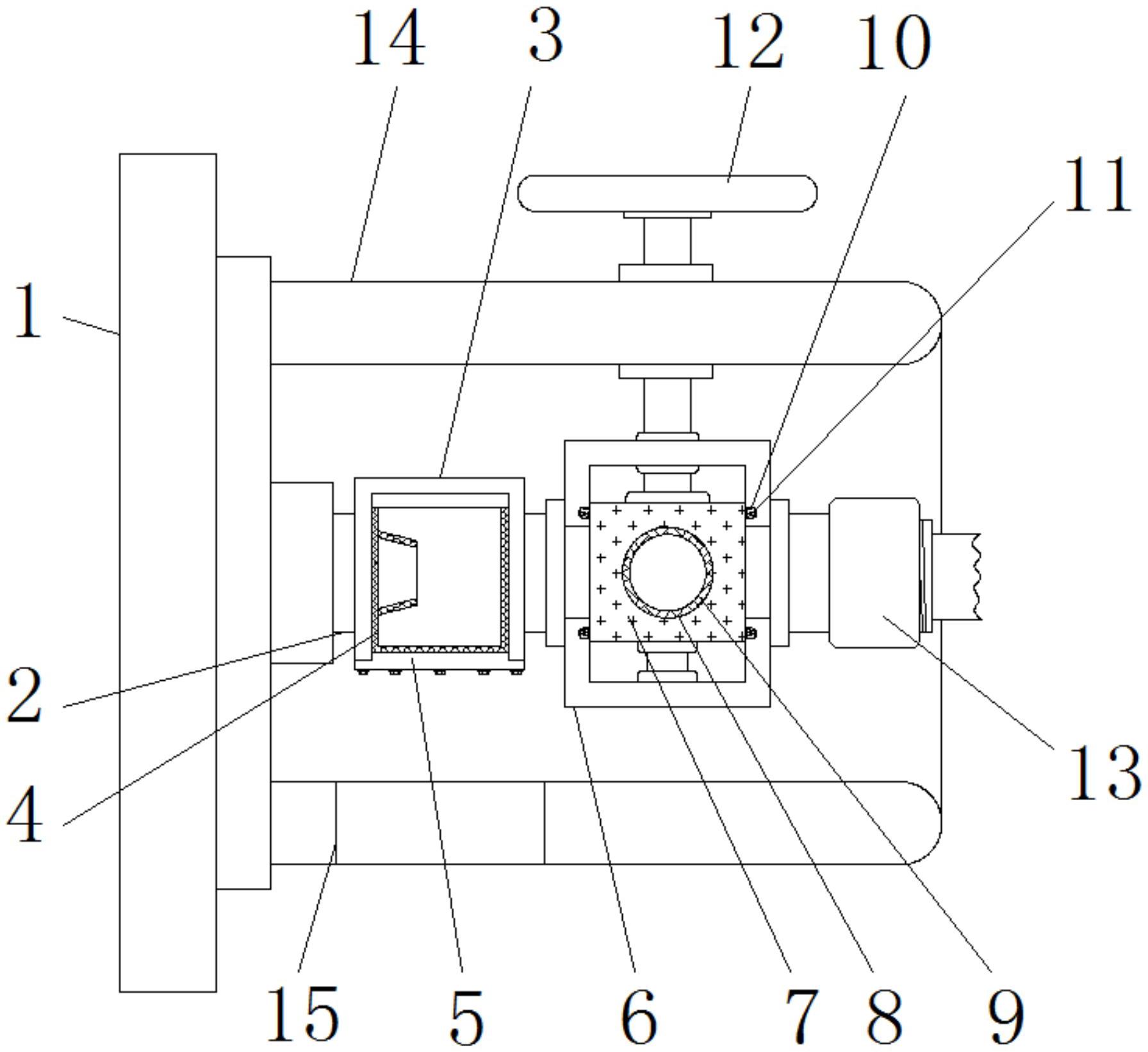
一种ibc吨桶阀门的制作方法
图片尺寸590x320
ibc吨桶配件吨桶接头吨桶阀门热熔阀门改装套件吨桶球阀吨桶蝶阀
图片尺寸800x800
搜了网为您找到7条吨桶阀门的相关产品参数信息
图片尺寸750x750
本实用新型公开了一种ibc吨桶用具有密封结构的阀门,包括安装座和防护
图片尺寸1792x1641
2寸接口ibc桶吨桶阀门 全铜放料阀 尿素桶阀门 吨桶阀配件1000升
图片尺寸800x800
水杉ibc吨桶阀门开关全新加厚dn50塑料蝶阀配防静电款装置放料阀
图片尺寸1242x1242
慈溪吨桶厂家价格余姚1000升方形吨桶ibc塑料桶
图片尺寸800x1000
1000l吨桶阀门ibc桶集装桶球阀蝶阀舒驰桶专用接口内径75mm
图片尺寸1920x1920
吨桶阀门塑料转换接头2寸粗牙转6分1寸dn25转2寸接软管快速接口
图片尺寸800x800
跨境吨桶接头吨桶黄铜开关ibc吨桶黄铜水嘴1/2英寸吨桶阀门放料阀
图片尺寸360x360
ibc集装桶配件吨桶阀门球阀接口80mm
图片尺寸1920x1920
4分/6分/1寸吨桶配件60粗牙吨桶阀门转换接头s60x6耐酸碱转接头 60粗
图片尺寸720x1114
安全阀安装必须
图片尺寸750x400
ibc吨桶阀门配件塑料接口转接头球阀转换变径接头耐腐蚀2寸转4分6 60
图片尺寸990x1533
伍杰ibc吨桶阀门开关塑料球阀变径接头4/6分/1寸/1.2/1.5寸吨桶配
图片尺寸800x800
ibc吨桶阀门和配件
图片尺寸1024x682
吨桶阀门使用注意事项
图片尺寸500x500